Collection: A1200 Air Cleaner Parts by Husqvarna

Search by Brand, Type & Model

1 :
2 :
3 :
Shop By diagram:
Showing 1 to 4 of 4 items

Parts:
Showing 1 to 10 of 10 items

Keep your Husqvarna A1200 Air Scrubber performing at its best with genuine replacement parts from Danse USA. The A1200, known for its advanced design and high efficiency, relies on custom components to deliver superior air filtration. To maintain this level of performance, it’s essential to use only original Husqvarna parts specifically designed for your unit.

At Danse USA, we stock a complete range of genuine Husqvarna parts for the A1200 Air Scrubber, including HEPA filters, motors, impellers, and other critical components. Each part is designed to match the exact specifications of your A1200, ensuring durability and optimal performance. Our genuine parts are tested and certified, providing you with the confidence that your air scrubber will continue to operate smoothly and efficiently.

Key Replacement Parts for the Husqvarna A1200:

    • HEPA Filter (Part No. 590460801): Certified to capture 99.99% of particles at .3 microns, maintaining the highest level of air purity.
    • Motor/Impeller Assembly: Keep your air scrubber running efficiently with a genuine motor/impeller designed for the A1200.
    • Power Cord: Ensure reliable power supply with an OEM replacement cord.
    • Locking Wheels: Replace worn wheels with genuine parts to maintain easy mobility and stability.

    Frequently asked questions

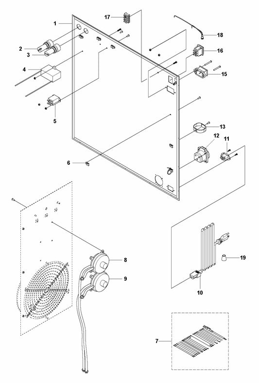
    How do I use this diagram?

    Match the Ref. # on the diagram to the row in the parts list at the right. Click a part name to see details, price, and add it to cart.

    How do I make sure a part fits my machine?

    Confirm your model/series and serial number range on the product page. Many manufacturers have serial breaks, when in doubt, share your model and serial with us and we’ll verify fit.

    What do the Ref. numbers and quantities mean?

    The Ref. # points to the callout on the drawing. Qty shows how many of that item your machine uses. Parts are sold individually unless noted as a kit.

    Are these genuine parts?

    Yes, we supply genuine OEM parts for all our brands. If a part has an approved replacement, we ship the latest superseded revision

    Why does my original part number look different?

    Manufacturers often supersede numbers. Our pages list the current orderable number and show older numbers in the description when available. Your old number will cross-reference to the correct part.

    I can’t find a part in this diagram, can you still get it?

    Yes. Some items are not pictured or are shared with other assemblies. Send us the model, serial, and a description (or photo) and we’ll locate it.

    Is there a warranty on these parts?

    Yes. DanseUSA passes the manufacturer’s warranty to you. Coverage applies to defects in materials and workmanship under normal use for 30 days from the purchase date, in line with the manufacturer’s warranty policy. Terms can vary by brand; the product page reflects the applicable policy. If a claim is needed, we’ll help coordinate with the manufacturer.

    Do you accept returns?

    Yes, most new, uninstalled items can be returned under our standard policy. Please see our Returns & Refunds Policy for eligibility, timeframes, and any exceptions.