Collection: BG 245 E Walk Behind Trowel Parts by Husqvarna

Search by Brand, Type & Model

1 :
2 :
3 :
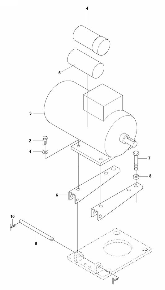
Shop By diagram:
Showing 1 to 10 of 10 items

Parts:
Showing 1 to 10 of 10 items

Ensure the optimal performance of your Husqvarna BG 245E electric trowels by sourcing genuine parts from Danse USA. As an authorized Husqvarna dealer, we provide high-quality replacement parts specifically designed for the BG 245E model. Trust Danse USA to maintain the efficiency, safety, and durability of your equipment, helping you achieve a smooth, flawless finish on every concrete project.

  • Authentic Parts: Genuine Husqvarna components tailored for the BG 245E electric trowel ensure reliable operation.
  • Extended Equipment Life: Maintain the longevity of your BG 245E trowels with high-quality, durable parts from Danse USA.
  • Safety Compliance: Ensure all safety features are fully functional by using parts specifically designed for your model.
  • Perfect Fit: Parts engineered for seamless integration with Husqvarna BG 245E trowels, facilitating easy and precise maintenance.
  • Authorized Dealer Guarantee: Danse USA provides only authentic parts, ensuring the reliability and performance of your equipment.
  • Performance Maintenance: Keep your BG 245E trowels performing at their best with parts that support consistent and high-quality concrete finishing.