Collection: DC 5500 Dust Extractor Parts By Husqvarna

Showing 1of 1 items

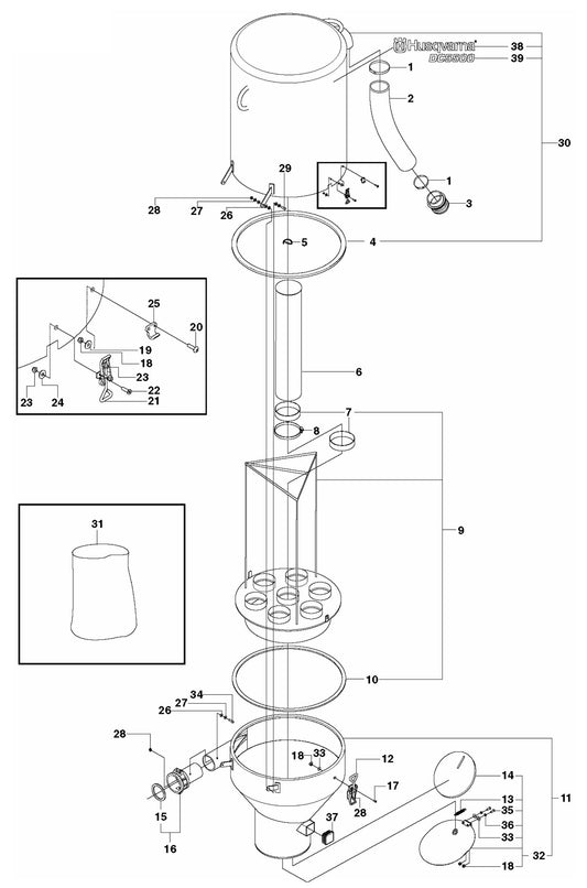
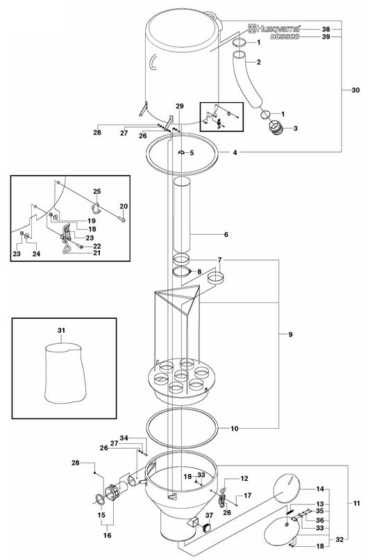
Keep your Husqvarna DC 5500 Dust Extractor running at optimal capacity with genuine parts from Danse USA. Featuring a powerful suction system and large filter surface area, the DC 5500 requires authentic replacement parts to maintain its superior dust containment capabilities. We provide certified filters, maintenance kits, and suction accessories specifically tailored to fit this heavy-duty dust extractor. Ensure your equipment's reliability, safety compliance, and performance longevity by choosing Danse USA for all your Husqvarna DC 5500 parts.