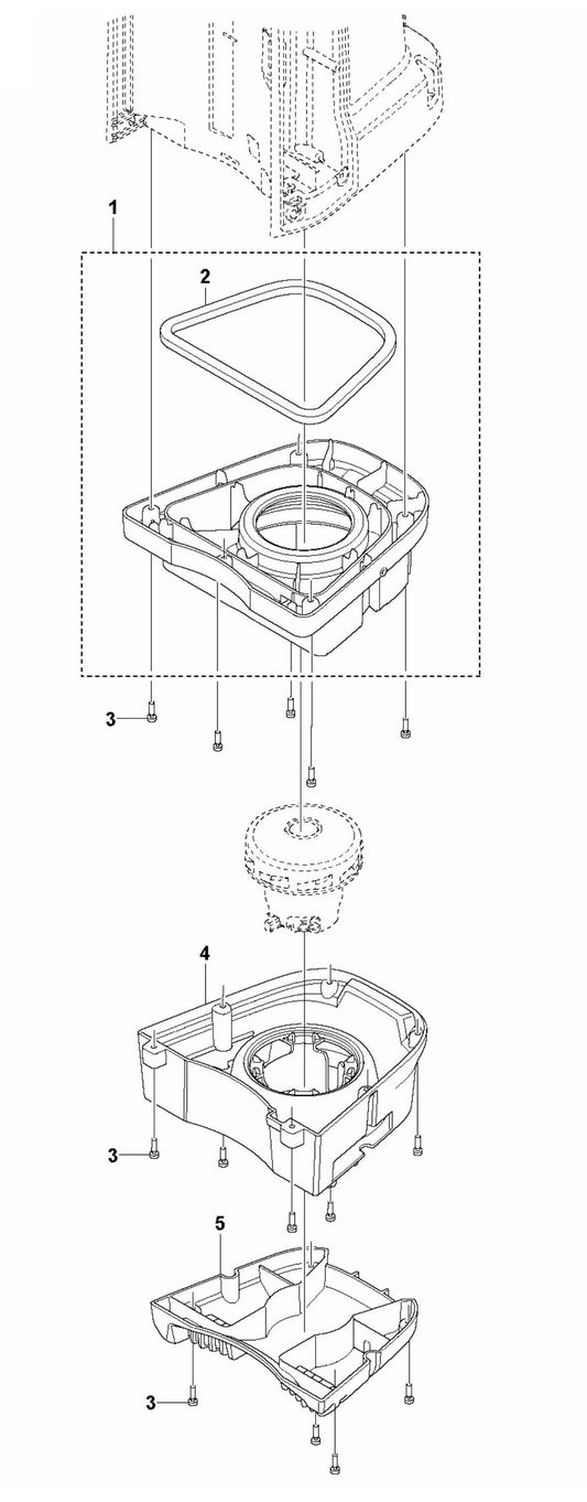
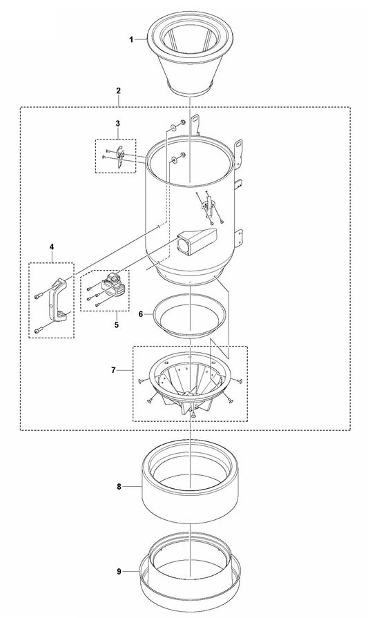
Collection: DE 110 S Dust Extractor Parts By Husqvarna

Search by Brand, Type & Model

1 :
2 :
3 :