Collection: GA-3.6RZ3 AC Portable Generator Parts by Multiquip

Search by Brand, Type & Model

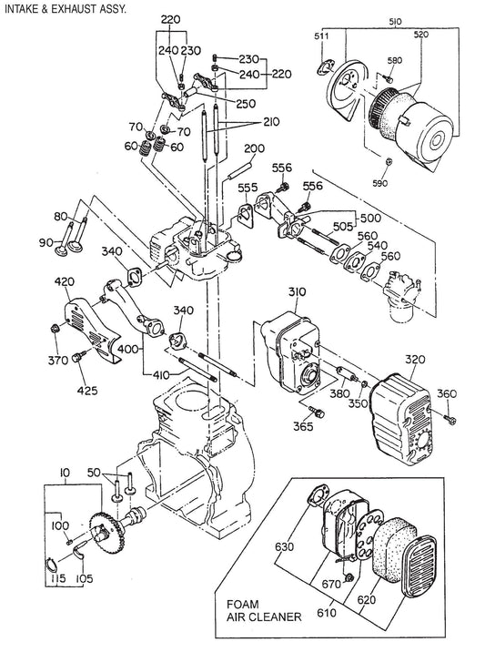
1 :
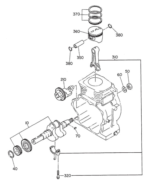
2 :
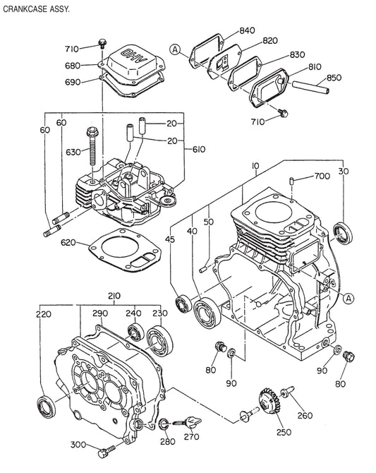
3 :

Browse Multiquip GA36RZ3 generator parts manuals and catalogs to identify and order genuine OEM parts from authorized dealer. Order GA-3.6RZ3 AC Portable Generator Parts by Multiquip online now for the parts to be shipped to you directly from our parts warehouse or to be drop shipped from Multiquip MQ warehouse for faster delivery.