Collection: LP 6500 Walk Behind Roller Parts

Search by Brand, Type & Model

1 :
2 :
3 :
Shop By diagram:
Showing 1 to 14 of 14 items

Parts:
Showing 1 to 10 of 10 items

Genuine Spare Parts for Husqvarna LP 6500 Duplex Roller

Optimize your soil and asphalt compaction projects with authentic spare parts for the Husqvarna LP 6500, a fully hydraulic duplex roller designed for precision and endurance. These specifically engineered parts ensure your equipment consistently delivers top-notch performance and durability.

  • Kohler KD 441 Diesel Engine Compatibility: Precision-made to match the LP 6500's Kohler diesel engine, ensuring efficient operation with significant output power of 5.6 kW and electric start functionality.
  • Superior Compaction Performance: Designed for compacting thin layers of granular soil and asphalt, achieving a high centrifugal force of 20 kN to increase productivity.
  • Compact and Maneuverable Design: Authentic parts maintain the roller’s sleek, compact design, allowing for easy operation close to walls and in confined spaces.
  • Enhanced Service Life: High-quality materials and engineering contribute to the LP 6500's longevity, even in demanding conditions.
  • Ergonomic and Service-Friendly: Spare parts support the roller's ergonomic design, promoting operator comfort and facilitating easy maintenance.
  • High-Speed Compaction: Ensure the LP 6500 maintains its optimal speed of 55.5 m/min for efficient work over extended periods.
  • Quality Assured: Trust genuine Husqvarna parts from danseusa.com, your authorized dealer, to maintain your LP 6500's efficiency, service life, and compliance with exhaust emissions standards.


Frequently asked questions

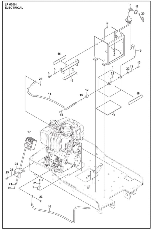
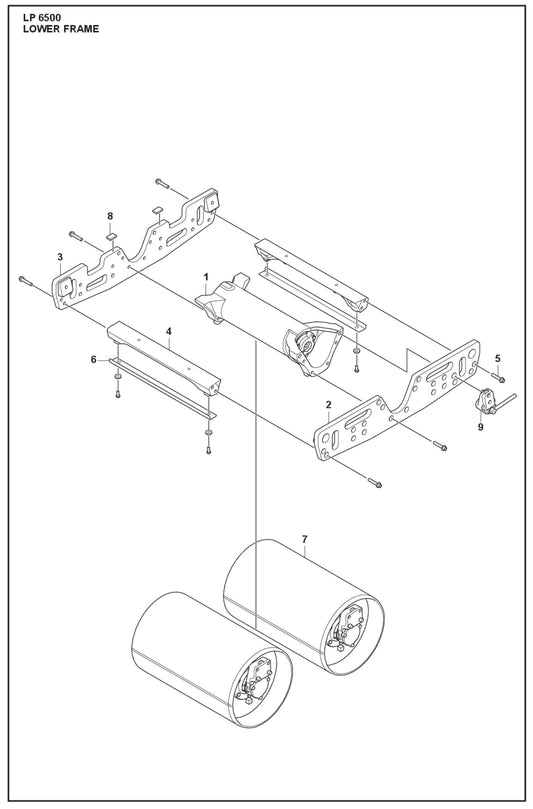
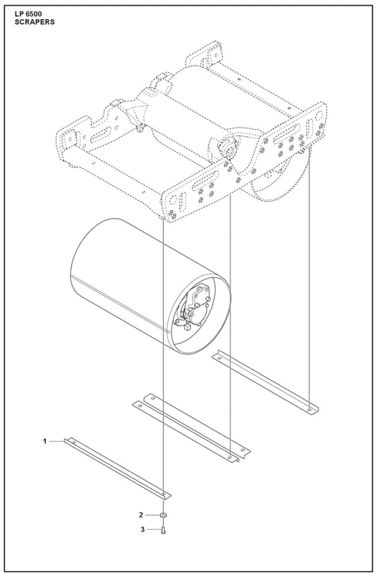
How do I use this diagram?

Match the Ref. # on the diagram to the row in the parts list at the right. Click a part name to see details, price, and add it to cart.

How do I make sure a part fits my machine?

Confirm your model/series and serial number range on the product page. Many manufacturers have serial breaks, when in doubt, share your model and serial with us and we’ll verify fit.

What do the Ref. numbers and quantities mean?

The Ref. # points to the callout on the drawing. Qty shows how many of that item your machine uses. Parts are sold individually unless noted as a kit.

Are these genuine parts?

Yes, we supply genuine OEM parts for all our brands. If a part has an approved replacement, we ship the latest superseded revision

Why does my original part number look different?

Manufacturers often supersede numbers. Our pages list the current orderable number and show older numbers in the description when available. Your old number will cross-reference to the correct part.

I can’t find a part in this diagram, can you still get it?

Yes. Some items are not pictured or are shared with other assemblies. Send us the model, serial, and a description (or photo) and we’ll locate it.

Is there a warranty on these parts?

Yes. DanseUSA passes the manufacturer’s warranty to you. Coverage applies to defects in materials and workmanship under normal use for 30 days from the purchase date, in line with the manufacturer’s warranty policy. Terms can vary by brand; the product page reflects the applicable policy. If a claim is needed, we’ll help coordinate with the manufacturer.

Do you accept returns?

Yes, most new, uninstalled items can be returned under our standard policy. Please see our Returns & Refunds Policy for eligibility, timeframes, and any exceptions.