Collection: Soff-Cut 150 Walk Behind Saw parts by Husqvarna
Genuine OEM Husqvarna Soff-Cut 150 parts for the walk-behind early-entry saw (aka green concrete saw). The Soff-Cut 150 is designed to cut control joints in freshly placed concrete within hours of finishing to help prevent random cracking on slabs, pavements, driveways, and warehouse floors. It uses early-entry blades with a skid plate to reduce spalling. Use our parts diagram to match Ref. #s, open assembly pages, and add the exact items you need. We stock and drop-ship to get you fast delivery.
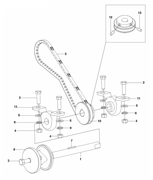
Quick Soff-Cut 150 Shop by Diagram links
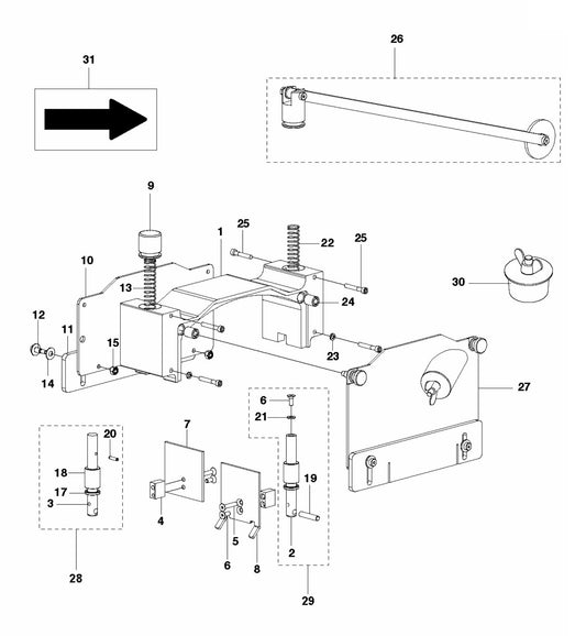
- Soff-Cut 150 Saw Wheel Carriage Assembly Diagram
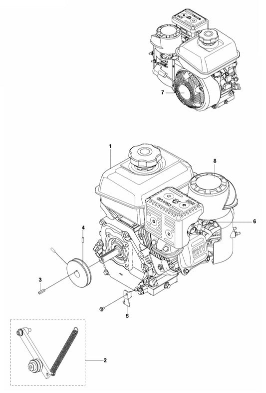
- Soff-Cut 150 Saw Engine Assembly Diagram
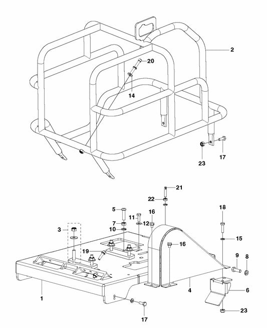
- Soff-Cut 150 Saw Main Frame Assembly Diagram
- Soff-Cut 150 Saw Guide Arm Assembly Diagram
- Soff-Cut 150 Saw Blade Block Cover Assembly Diagram
- Soff-Cut 150 Saw Blade Release Arm Assembly Diagram
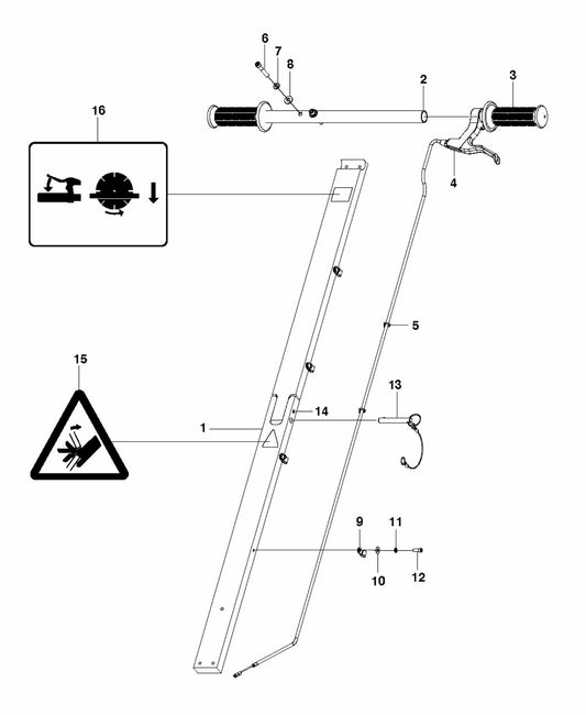
- Soff-Cut 150 Saw Handle Assembly Diagram
- Soff-Cut 150 Saw Blade Shaft Assembly Diagram
- Soff-Cut 150 Saw Belt Tensioner Assembly Diagram
- Soff-Cut 150 Saw Blade Block Assembly Diagram
Popular Soff-Cut 150 parts
- 594110501 STARTER – Soff-Cut 150
- 594110201 AIR FILTER – Soff-Cut 150
- 582673501 POINTER / Guide
- 505875901 Belt Tensioner Complete
- 593131701 SPARK PLUG
- 505588401 BLADE SHAFT (see Blade Shaft Assembly)
About Soff-Cut blades (early-entry)
Blade selection depends on your slab (aggregate, PSI, moisture), finish timing, and time-of-cut window. Tell us your pour details and we’ll confirm the correct Soff-Cut blade series and skid plate for the 150. You can also browse our diamond blades and ask for early-entry options.
Fitment, Parts List & Manual
This page is for the Husqvarna Soff-Cut 150 walk-behind saw. Each assembly page above includes the exploded parts diagram and parts list (Ref. #s and quantities). If you need operator/service documentation, contact us and we’ll point you to the correct Soff-Cut 150 manual.
Email us at [email protected] or call +1 (202) 630-1027 and we’ll help you find the correct parts.
Shop other Husqvarna Soff-Cut models
- See all Husqvarna Soff-Cut model parts
- G2000 Soff Cut Walk Behind Saw Parts by Husqvarna
- Soff-Cut 150 Walk Behind Saw parts by Husqvarna
- Soff Cut 2000 Early Entry Walk Behind Saw Parts by Husqvarna
- SoffCut 2500 Early Entry Walk Behind Saw Parts by Husqvarna
- Soff Cut 4200 Early Entry Walk Behind Saw Parts by Husqvarna
- Soff Cut 50 Early Entry Saw Parts by Husqvarna
- Soff Cut 5000 Early Entry Saw parts by Husqvarna
- Soff Cut 150 D Early Entry Saw Parts by Husqvarna
- Soff Cut 150 E Early Entry Saw Parts by Husqvarna
- Soff Cut 4000, 2022-04 Early Entry Walk Behind Saw Parts by Husqvarna
- Soff Cut X150D Early Entry Saw Parts by Husqvarna
- Soff Cut X150 Early Entry Saw Parts by Husqvarna
- Soff Cut X390 Early Entry Saw Parts by Husqvarna
- Soff Cut X4000 Early Entry Saw Parts by Husqvarna
- Soff Cut X750 Early Entry Saw Parts by Husqvarna
- Soff Cut 2000E, 2009-30 Early Entry Saw Parts by Husqvarna
- Soff Cut 4000, 2015-10 Early Entry Saw Parts by Husqvarna
- Soff Cut GX4200 Early Entry Saw Parts by Husqvarna
Husqvarna Soff-Cut 150 FAQ
What is the Husqvarna Soff-Cut 150 used for?
Early-entry cutting of control joints in freshly placed (“green zone”) concrete to help prevent random cracking on slabs, pavements, driveways, and warehouse floors.
When should I make the cuts?
As soon as the slab can support the saw and operator without marking the surface. Timing depends on mix, weather, and finishing conditions; cut as early as you can while achieving a clean edge.
Where can I find the Soff-Cut 150 parts diagram and parts list?
Open any diagram link in the “Quick ‘Shop by Diagram’” section above. Each assembly page shows the exploded view and a matching parts list with Ref. #s and quantities for the Soff-Cut 150.
How do I confirm fitment (150 vs. 150D/150E/X150)?
Parts are not always cross-compatible. Confirm the exact model and serial on the product page before ordering. If unsure, contact us and we’ll verify fit. You can also browse all models here: https://www.danseusa.com/collections/husqvarna-soff-cut-concrete-saw-parts.
Which blade and skid plate should I use with the Soff-Cut 150?
Blade choice depends on your slab (aggregate, PSI, moisture), finish timing, and time-of-cut. Share your pour details and we’ll recommend the correct Soff-Cut series and skid plate. You can also browse blades here: https://www.danseusa.com/collections/concrete-diamond-blades-1.
Are these genuine OEM parts?
Yes—these are genuine Husqvarna Soff-Cut OEM parts. Part numbers match the manufacturer’s listings. We stock and also ship directly from Husqvarna distribution for fast delivery.
Can you help identify a part from a photo or Ref. #?
Yes. Email photos and your model/serial (and any Ref. # from the diagram) to [email protected] or call +1 (202) 630-1027 and we’ll point you to the correct item.
Do you have a Soff-Cut 150 operator or service manual?
Assembly pages include exploded views and part numbers. For operator/service documentation, contact us and we’ll direct you to the correct Soff-Cut 150 manual.