Collection: BT 90 Pneumatic Truss Screed Parts by Husqvarna
Search by Brand, Type & Model
1 :
2 :
3 :
×
Can’t see your part yet?
We probably have it off-catalog.
Call +1(202)6301027 or email customerservice@danseusa.com and we’ll hunt it down today
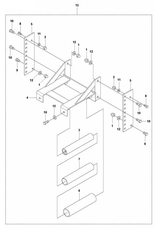
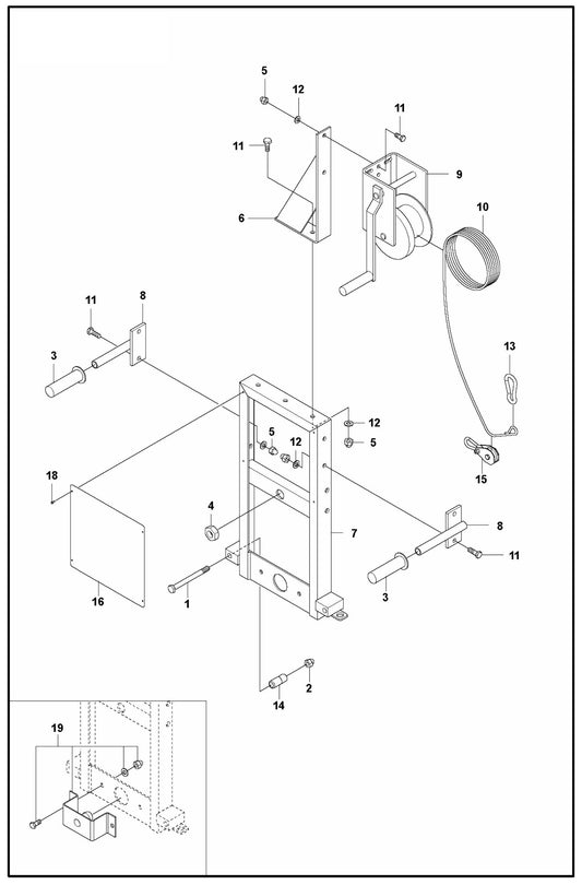
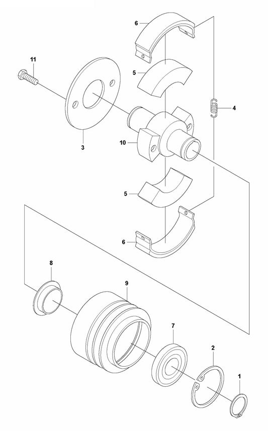
Shop By diagram:
Showing 1 to 26 of 26 items