1
/
of
1
100% genuine product
Authorised dealer
| Ref. | Product details | Price | Qty | Action |
|---|---|---|---|---|
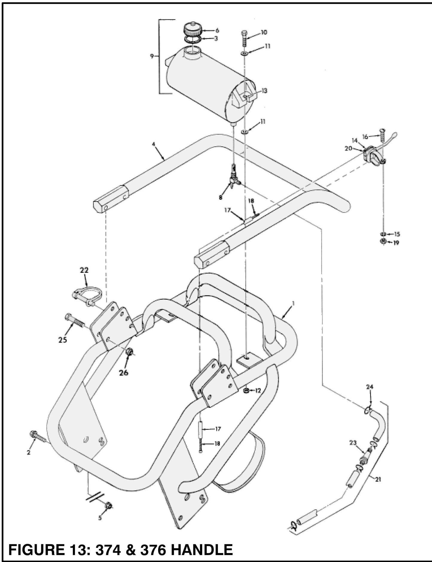
| 2 |
F051808FWS Flange Lock Screw, 5/16-18 X1 Lg. for GP5800H Plate Compactors by MBW Genuine Parts
|
$3.42 |
|
|
| 15 |
F03LW Lockwasher, #10 for GP7000H Plate Compactors by MBW Genuine Parts
|
$2.39 |
|
|
| 25 |
F051814HCS Hex Head Cap Screw, 5/16-18 X 1-3/4 Lg. for GP1400H Plate Compactors by MBW Genuine Parts
|
$3.42 |
|
