1
/
of
1
100% genuine product
Authorised dealer
| Ref. | Product details | Price | Qty | Action |
|---|---|---|---|---|
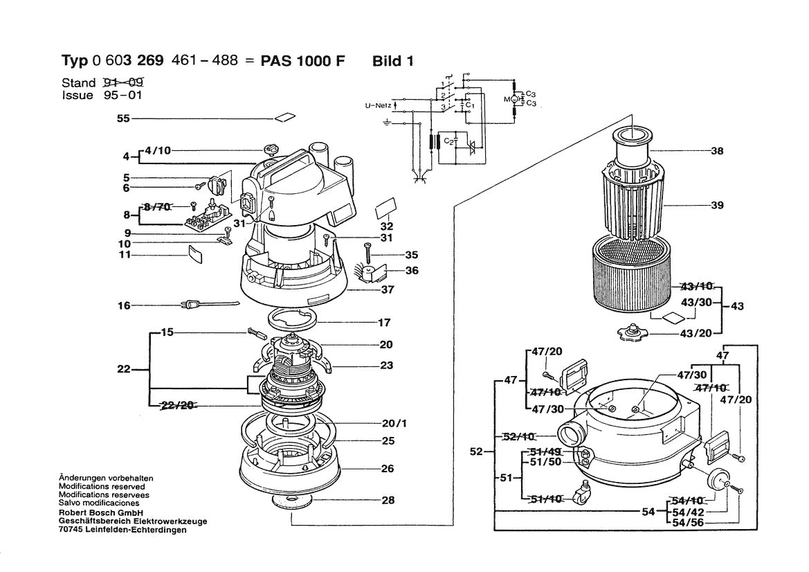
| 20 |
1609201669 Seal Ring | Genuine OEM Bosch Part
|
$6.11 |
|
|
| 31 |
2910611015 Sheet Metal Screw by Bosch
|
$3.91 |
|
|
| 35 |
2910021193 Screw | Genuine OEM Bosch Part
|
$3.91 |
|
|
| 47 |
1609202726 Plain Washer by Bosch
|
$3.91 |
|
|
| 20 |
1609202726 Plain Washer by Bosch
|
$3.91 |
|
