1
/
of
1
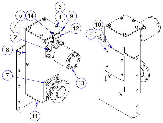
Ref.
Details
1
010036 Fstn, Hhcs 3/8-16 X 1 Grd8 by Allen Enginnering
$4.95
2
010070 Fstn, Hhcs 1/2-13 X 1-3/4 Grd8 by Allen Enginnering
$5.40
3
010091 Fstn, Lw 3/8 Grd8 by Allen Enginnering
$4.95
4
010093 Fstn, Lw 1/2 Gr8 by Allen Enginnering
$4.95
5
010102 Fstn, Nut Hex 3/8-16 Grd8 by Allen Enginnering
$2.99
