1
/
of
1
100% genuine product
Authorised dealer
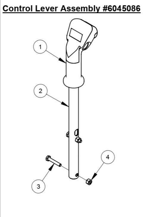
| Ref. | Product details | Price | Qty | Action |
|---|---|---|---|---|
| 1 |
6010319 Control Grip Assembly for CC6561 Concrete Saw Core Cut by Diamond Products
|
$226.71 |
|
|
| 2 |
Diamond Products STRAIGHT SPEED CNTRL LVR CC4144D 6045085
|
$51.19 |
|
|
| 3 |
2900048 Cap Screw, Hex Hd., 1/4-20 x 1-1/2" for CC1000 Concrete Saw Core Cut by Diamond Products
|
$2.99 |
|
|
| 4 |
2900010 Lock Nut 1/4-20 Nylon for CC5555-3 Concrete Saw Core Cut by Diamond Products
|
$2.99 |
|
