1
/
of
1
100% genuine product
Authorised dealer
| Ref. | Product details | Price | Qty | Action |
|---|---|---|---|---|
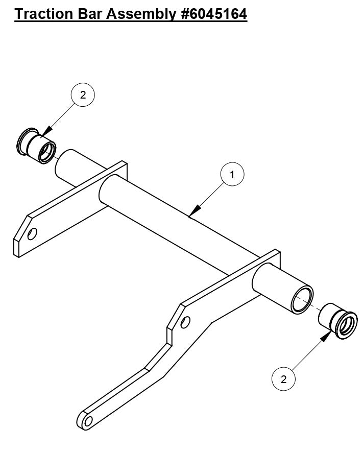
| 2 |
Diamond Products BEARING, 1" ID FLANGED 2502170
|
$86.93 |
|
|
| 1 |
6045004 Traction Bar Weldment fits CC4144D by Core Cut Diamond Products
|
Call for Price | call for price call for price |
