1
/
of
1
100% genuine product
Authorised dealer
| Ref. | Product details | Price | Qty | Action |
|---|---|---|---|---|
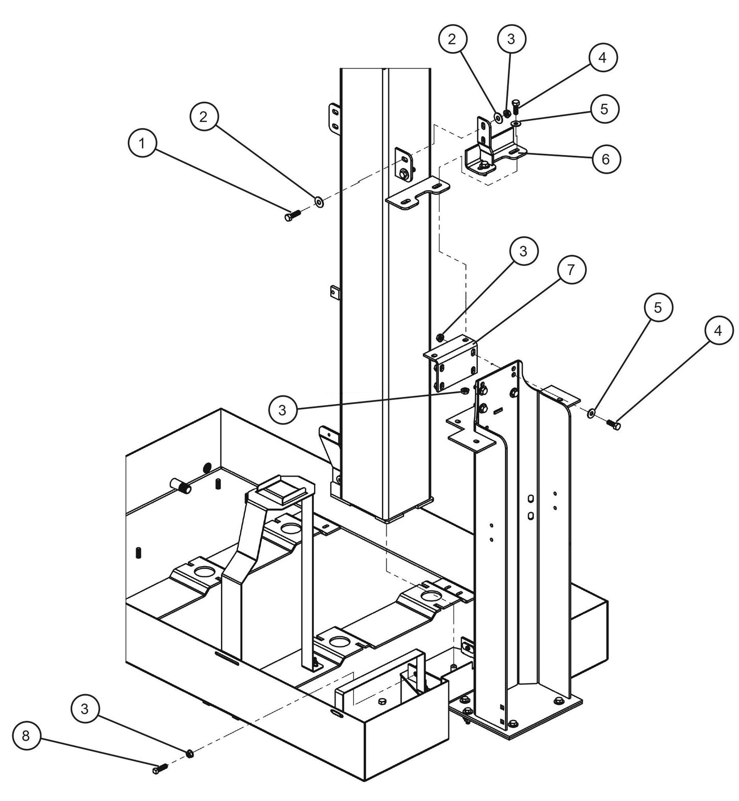
| 1 |
046115 3/8-16 X 1 1/4 Hex Bolt for Night-Lite Pro V-Series Ce Light Towers by Allmand
|
$2.99 |
|
|
| 2 |
047015 3/18 Flat Washer Pl for Night-Lite Pro Ii V-Series Light Towers by Allmand
|
$2.99 |
|
|
| 3 |
044036 3/8-16 Keps Hex Nut Pl for Night-Lite Pro Ii Ce V-Series (0001Pro2Ve15,09-000001 And Up) Light Towers by Allmand
|
$2.99 |
|
|
| 4 |
046110 3/8-16 X 1 Hex Head Cs Gr5 Pl for Night-Lite Pro Ii Ce V-Series (0001Pro2Ve15,09-000001 And Up) Light Towers by Allmand
|
$2.99 |
|
|
| 5 |
047010 5/16 Flat Washer Pl for Night-Lite Pro Ii Ce V-Series (0001Pro2Ve15,09-000001 And Up) Light Towers by Allmand
|
Call for Price | call for price call for price | |
| 6 |
101410P Vertical Tower Mount Reinforcement for Night-Lite Pro Ii Ce V-Series (0001Pro2Ve15,09-000001 And Up) Light Towers by Allmand
|
Call for Price | call for price call for price | |
| 7 |
102799P Vertical Tower Mount Angle for Night-Lite Pro Ii Ce V-Series (0001Pro2Ve15,09-000001 And Up) Light Towers by Allmand
|
$135.90 |
|
|
| 8 |
040010 Set Screw Sq Head Cup Tip for Night-Lite Pro Ii Ce V-Series (0001Pro2Ve15,09-000001 And Up) Light Towers by Allmand
|
Call for Price | call for price call for price |
