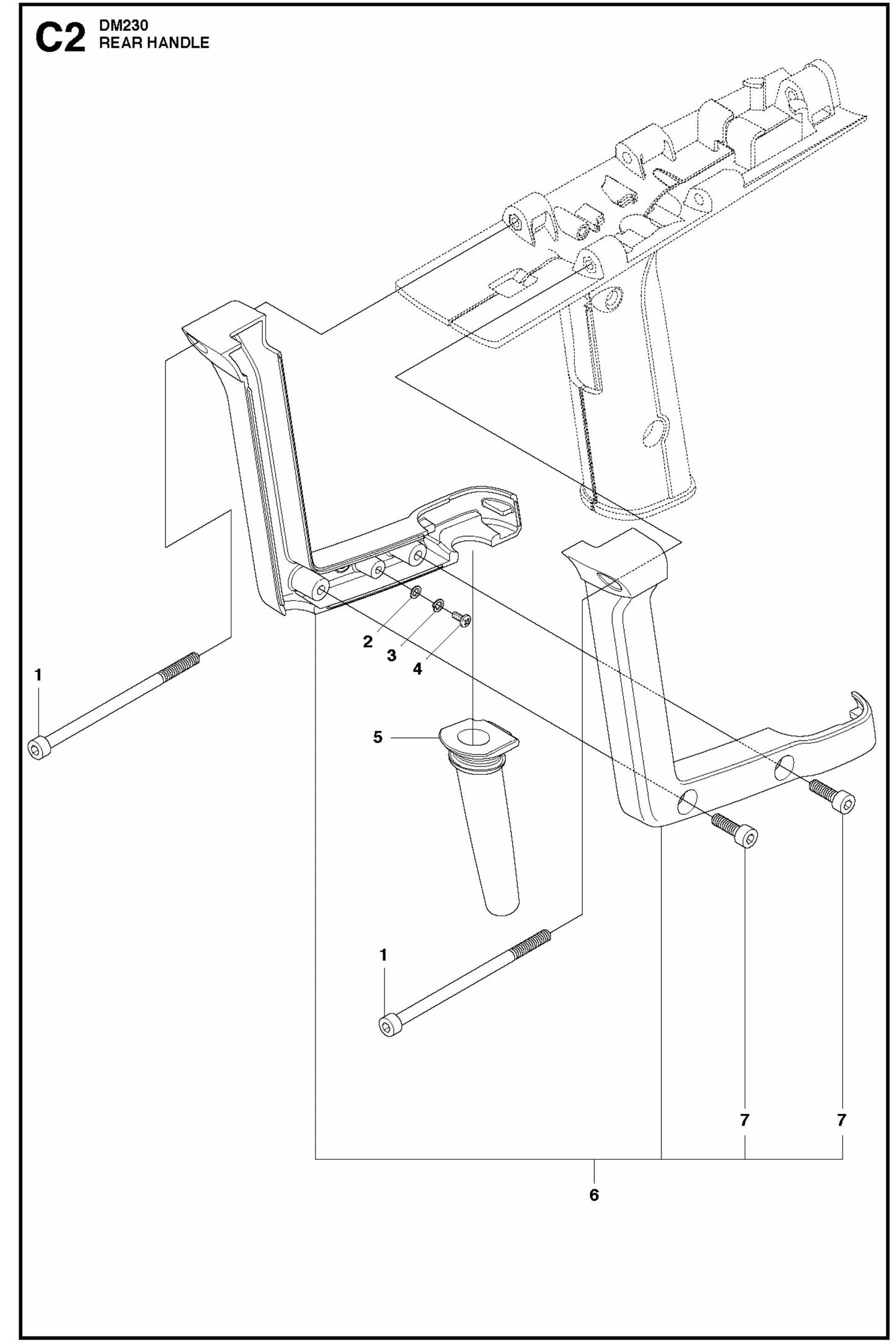
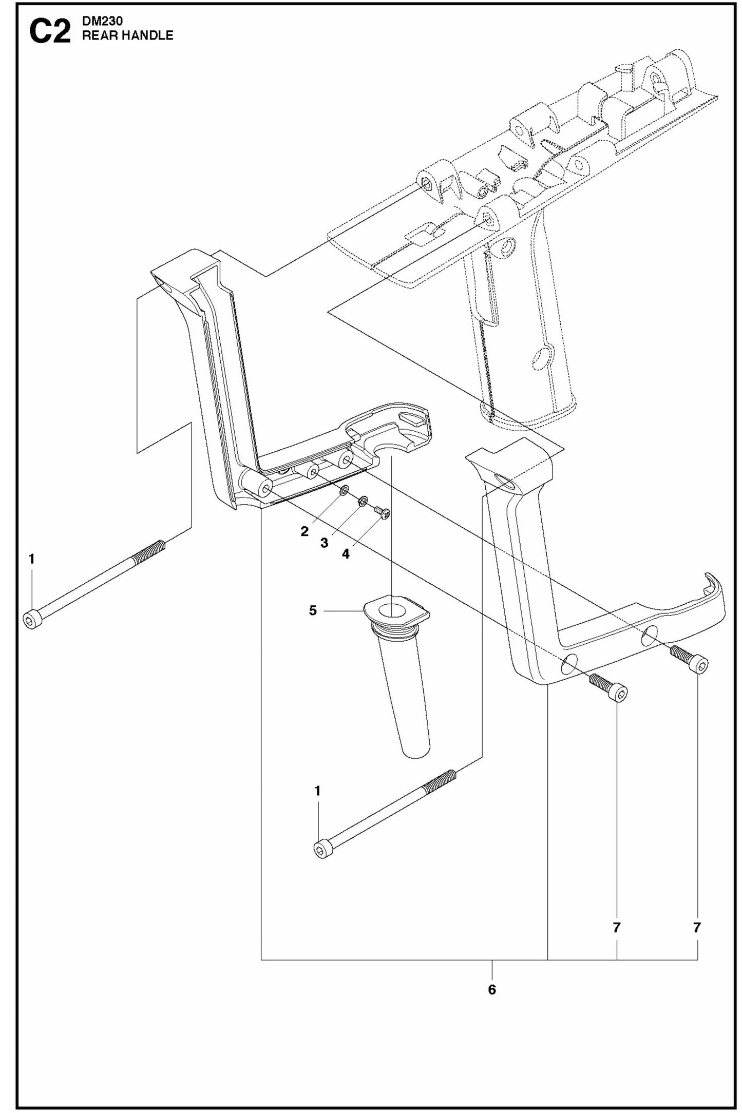
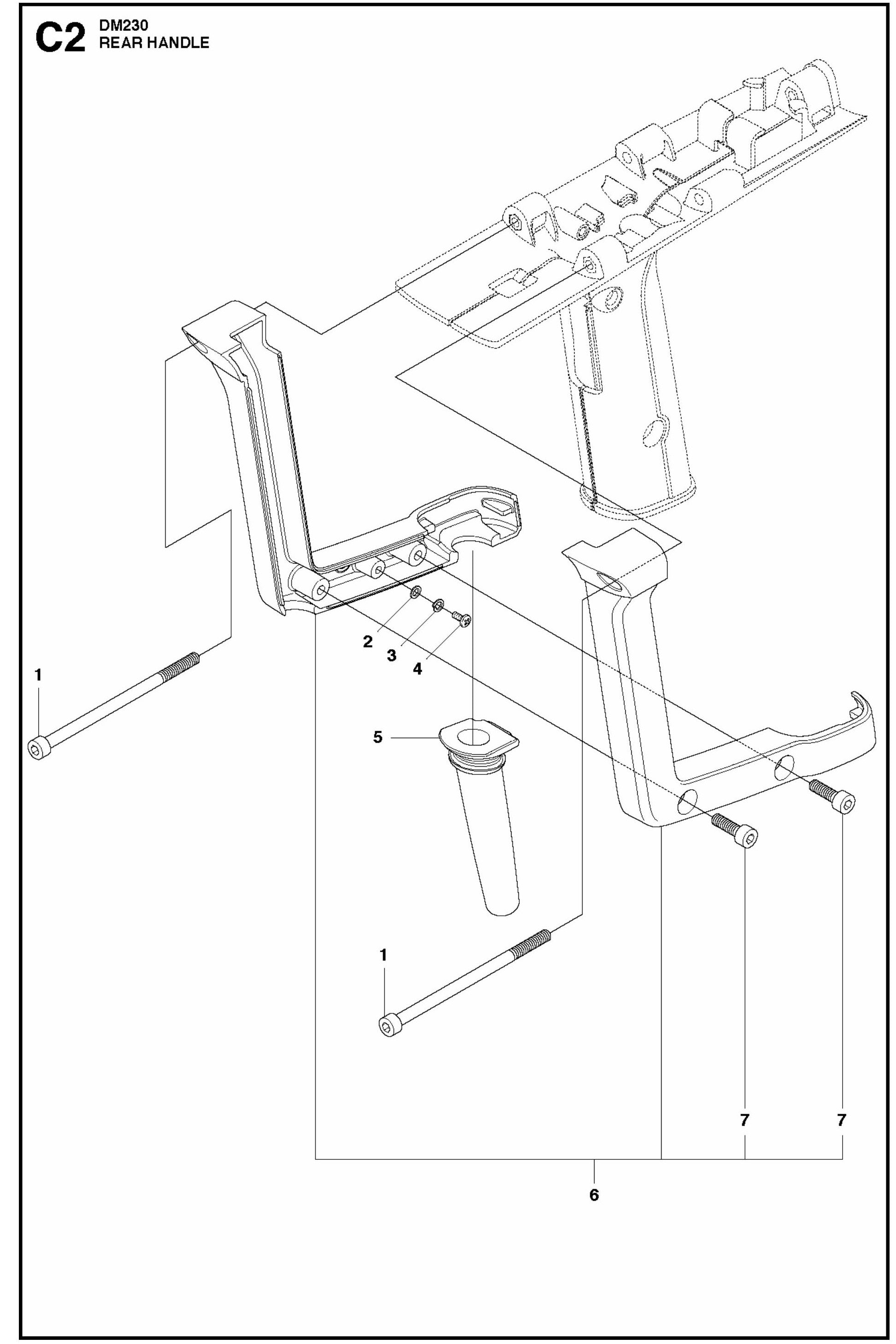
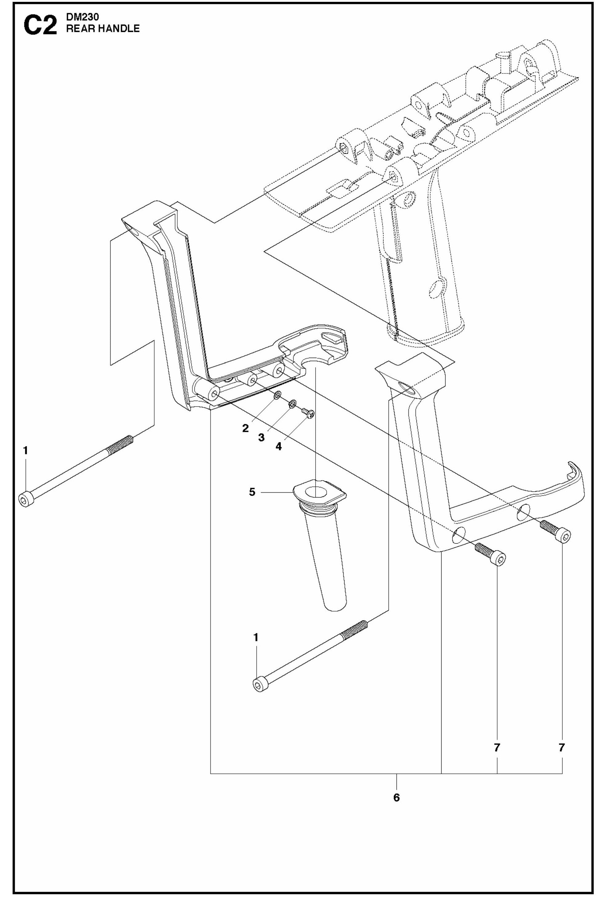
1
/
of
1
Ref.
Details
1
725534955 SHCS M5 X 0.8 X 90, 12.9 B/O FOR CORE DRILL BY HUSQVARNA
$7.03
2
734113601 Washer for Power Trowel by Husqvarna
$3.99
3
735213601 Lockwasher for PG 690 RC Floor Grinder by Husqvarna
$3.99
4
724128701 SCREW FOR CORE DRILL BY HUSQVARNA
$2.81
5
577411801 CABLE SLEEVE FOR CORE DRILL BY HUSQVARNA
$8.70
7
503200774 SCREW IHSCFM M5X16 10.9 ZN/FE FOR CORE DRILL BY HUSQVARNA
$2.90
