1
/
of
1
100% genuine product
Authorised dealer
| Ref. | Product details | Price | Qty | Action |
|---|---|---|---|---|
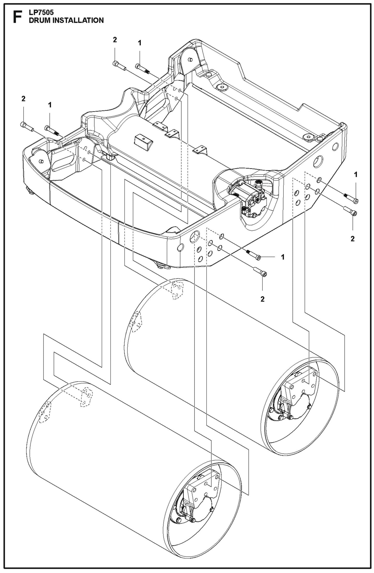
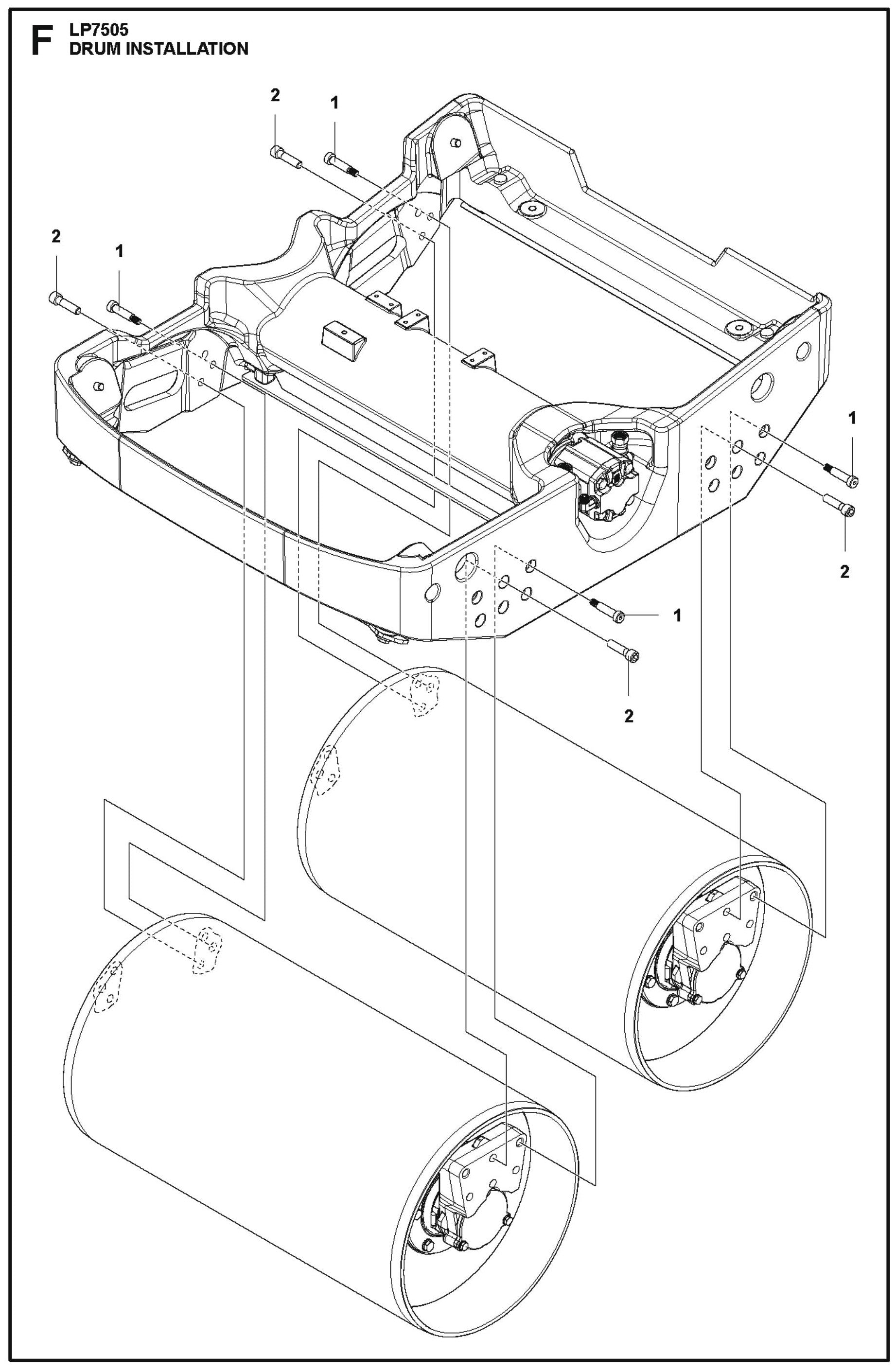
| 1 |
595111601 TIGHT FITTING SCREW, M10 FOR COMPACTION EQUIPMENT BY HUSQVARNA
|
$5.14 |
|
|
| 2 |
595347201 Socket for LP 6505 Roller by Husqvarna
|
Call for Price | call for price call for price |
