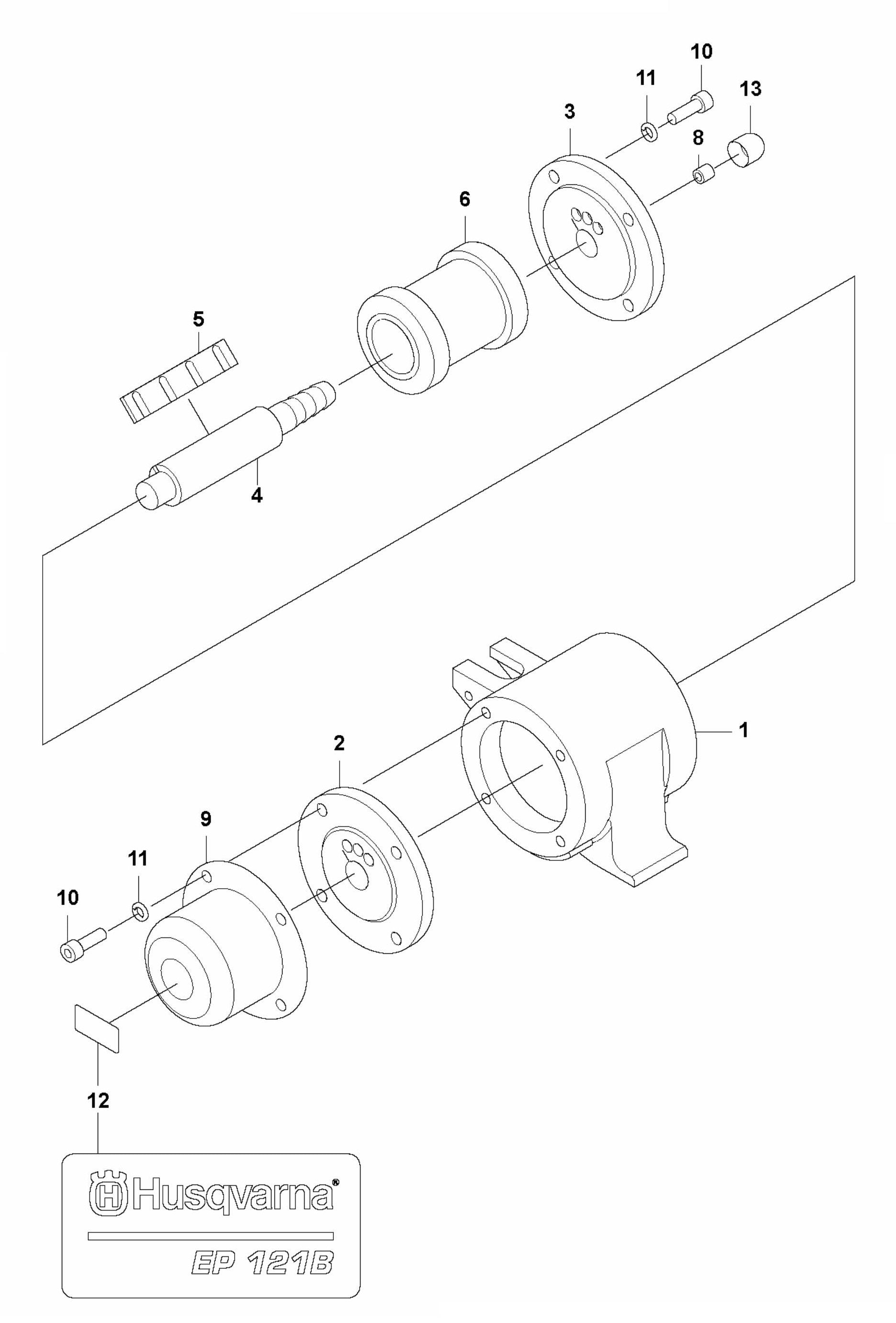
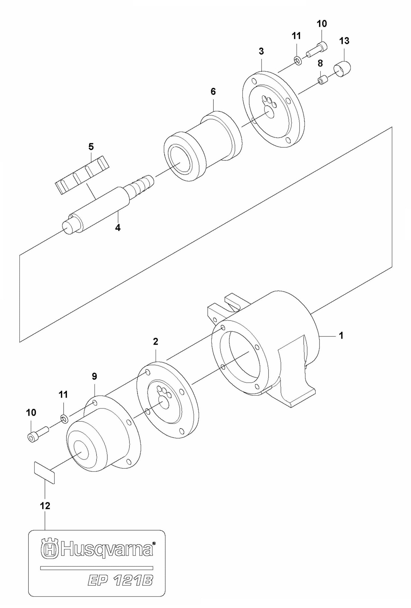
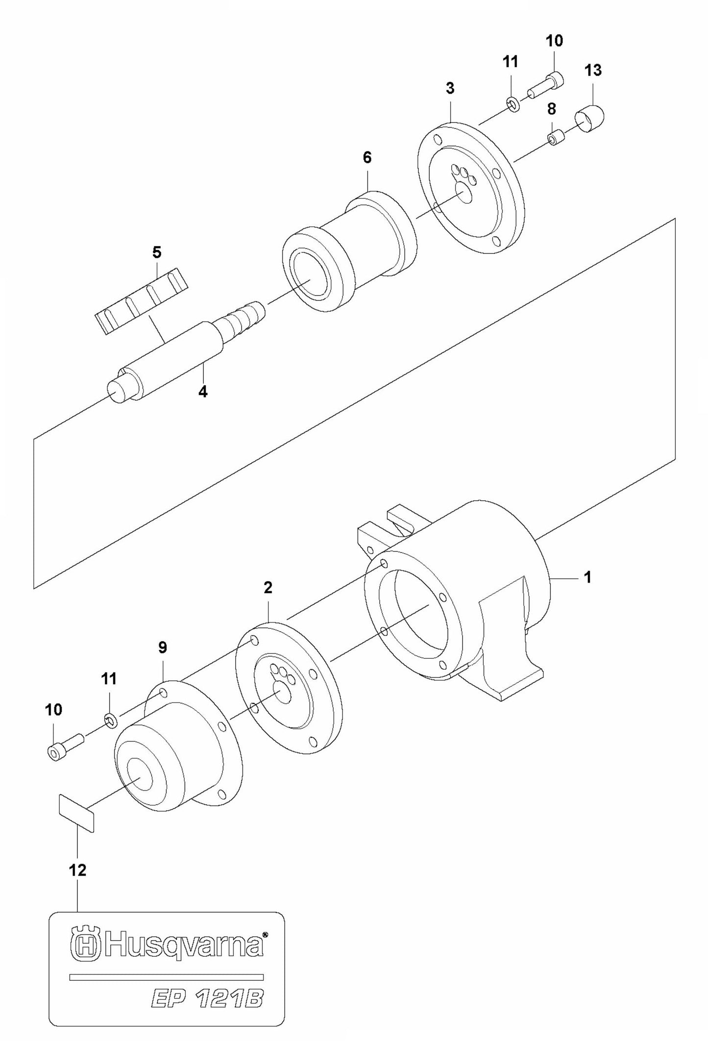
1
/
of
1
Ref.
Details
10
595034501 SCREW, HEXAGON SOCKET FOR COMPACTION EQUIPMENT BY HUSQVARNA
$2.99
