1
/
of
1
100% genuine product
Authorised dealer
| Ref. | Product details | Price | Qty | Action |
|---|---|---|---|---|
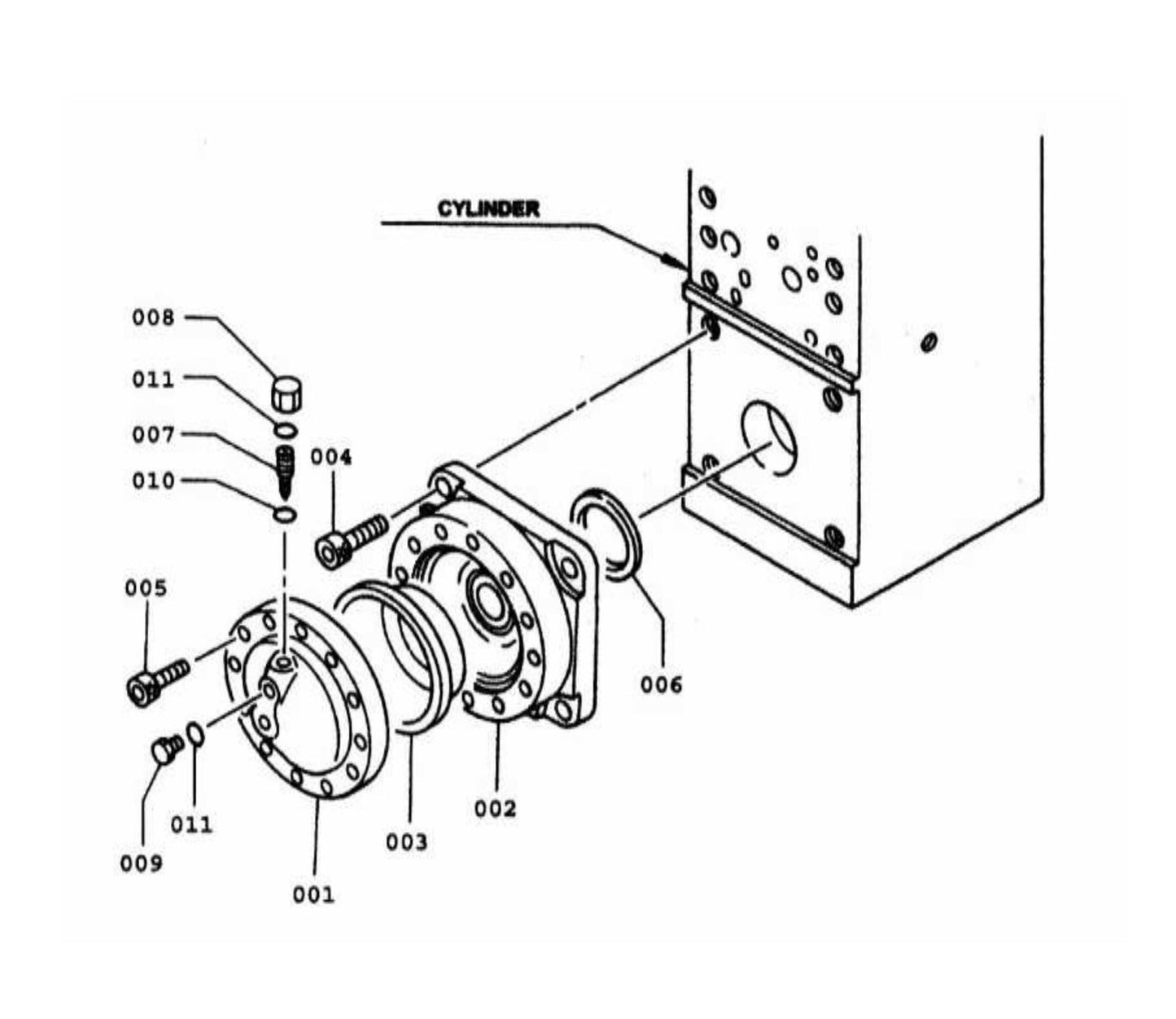
| 006 |
KHB20G70219 Face Seal [/SC] for Fx225 breaker by FRD Furukawa Kent
|
Call for Price | call for price call for price | |
| 007 |
K00712070134 Charge Port Valve for F9 Breaker by FRD Kent
|
$93.28 |
|
|
| 008 |
K00701070029 Cap for Fx1070 breaker by FRD Furukawa Kent
|
$48.04 |
|
|
| 009 |
K00701070030 Plug for F9 Breaker by FRD Kent
|
$52.82 |
|
|
| 010 |
K16001100005 O-Ring for F6 and F9 Breaker by FRD Kent
|
$3.95 |
|
|
| 011 |
K16001100014 O-Ring for F6, F9 and Fx125 Breaker by FRD Kent
|
$3.95 |
|
