1
/
of
1
Ref.
Details
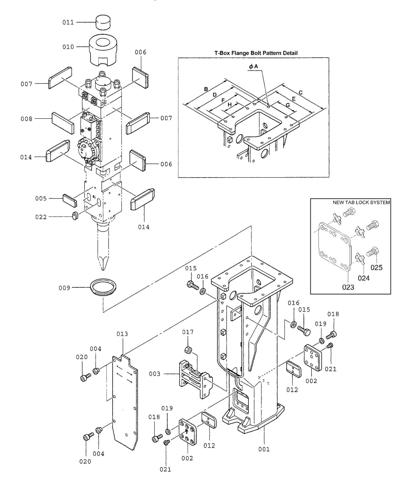
016
K14011242000 Washer for Fx275 breaker by FRD Furukawa Kent
$14.56
021
K08489110000 GPF Plug for F9 Breaker by FRD Kent
$50.94
