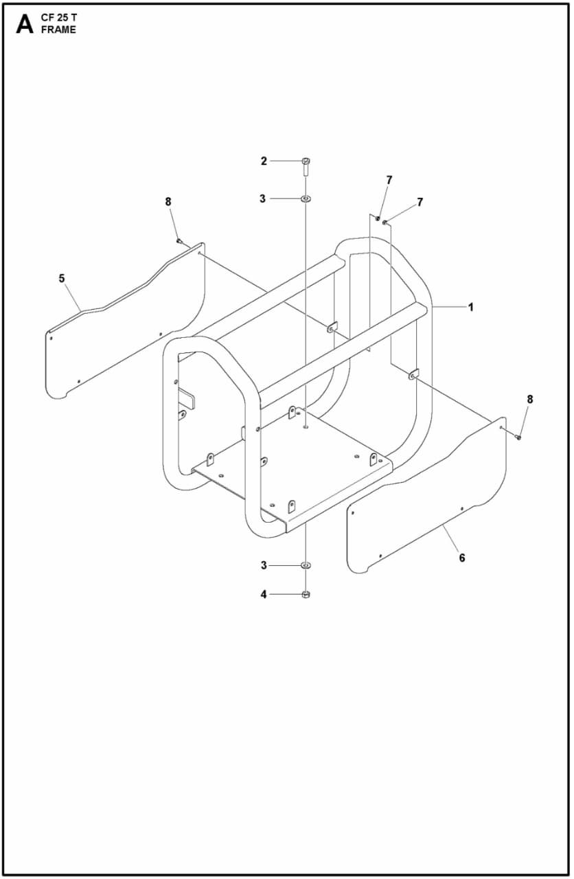
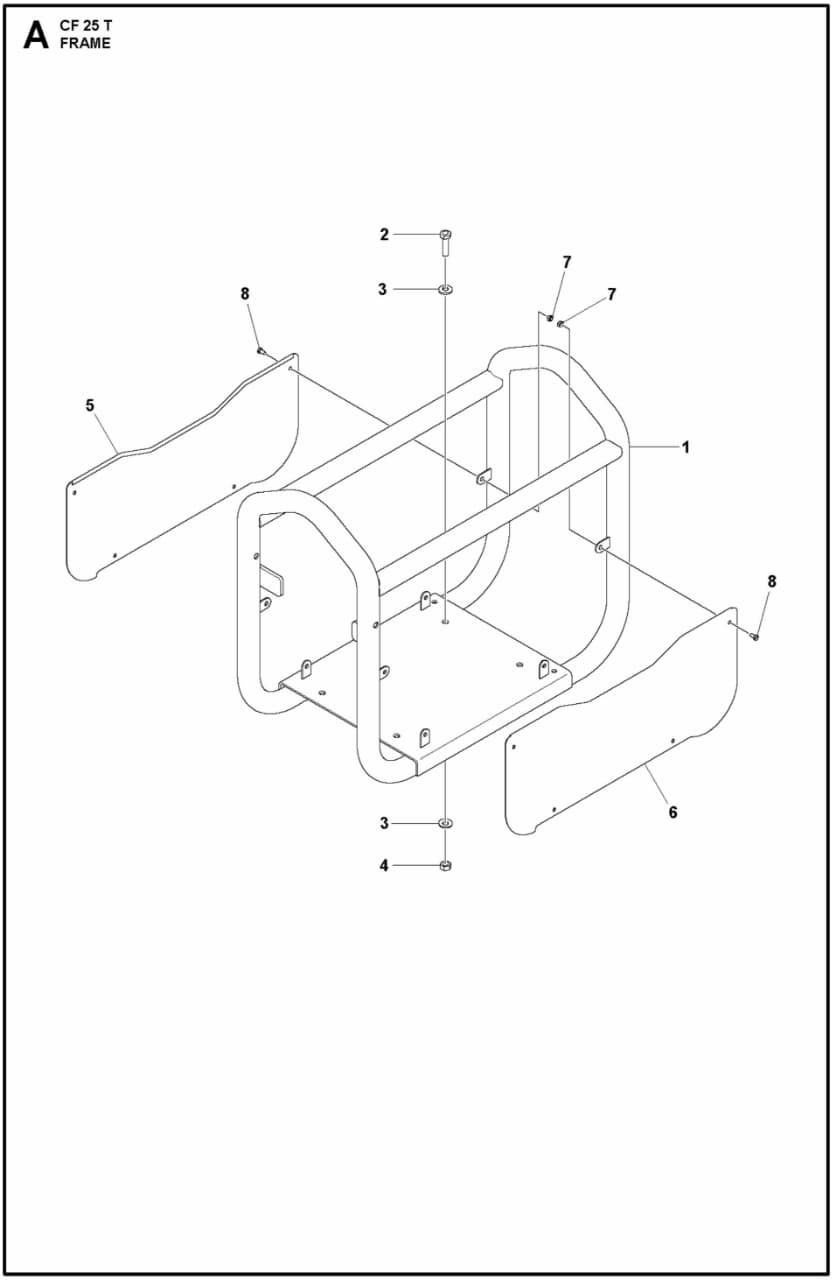
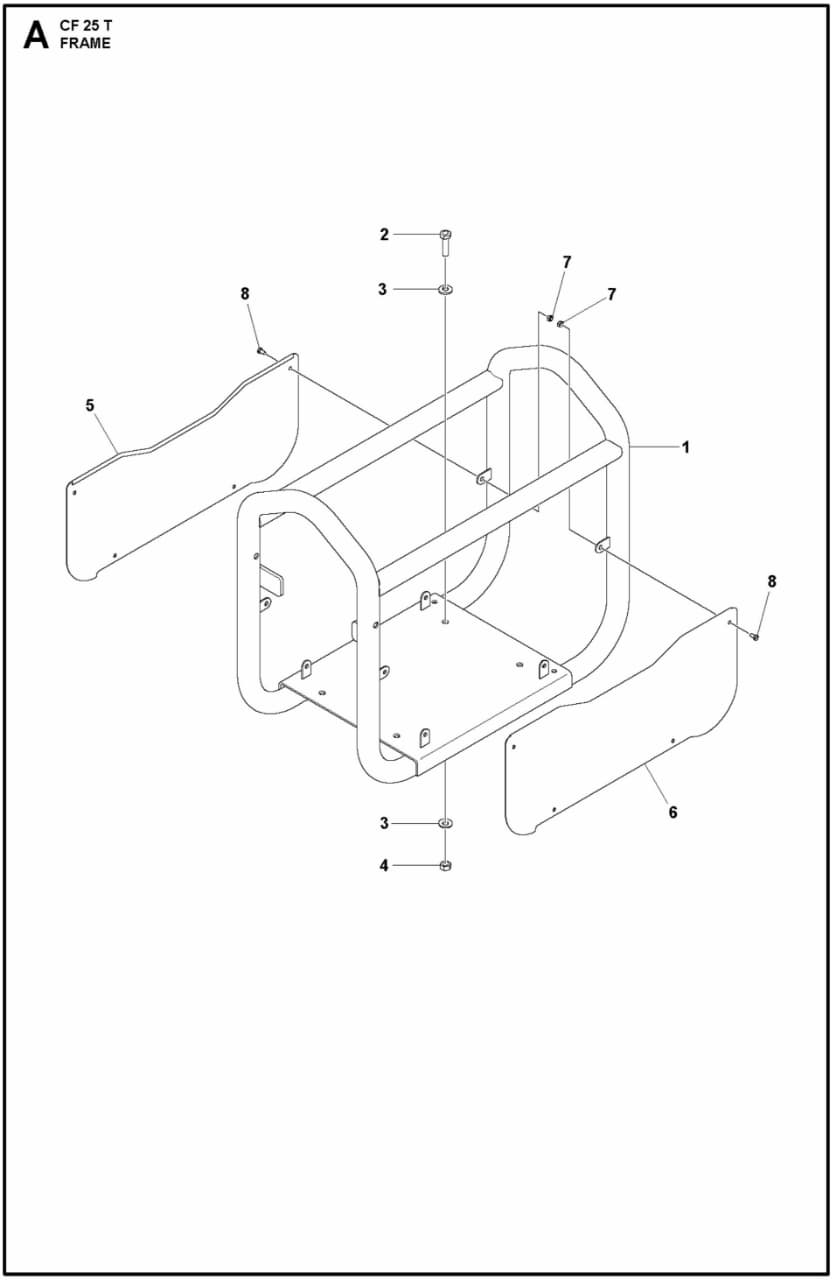
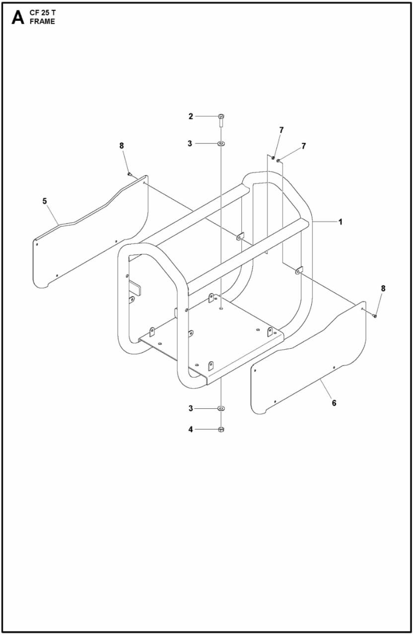
1
/
of
1
Ref.
Details
3
595066601 WASHER,PLAIN,STL FOR COMPACTION EQUIPMENT BY HUSQVARNA
$2.99
4
595181401 M8 -8 FOR COMPACTION EQUIPMENT BY HUSQVARNA
$2.90
7
595069201 LOCK NUT FOR COMPACTION EQUIPMENT BY HUSQVARNA
$2.99
8
595059001 Screw for Power Trowel by Husqvarna
$20.43
