Search by Brand, Type & Model
1 :
2 :
3 :
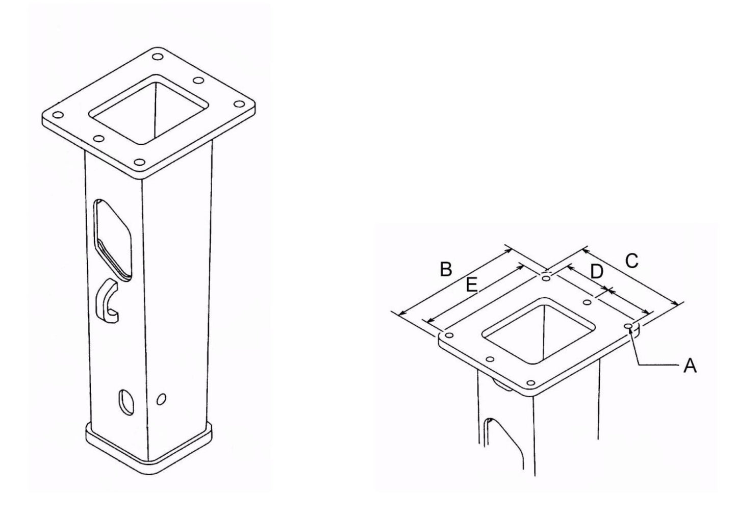
Fx55 (Serial No.1001 and Up) T-Box Mounting Assembly Parts
Fx55 (Serial No.1001 and Up) T-Box Mounting Assembly Parts
