1
/
of
1
Ref.
Details
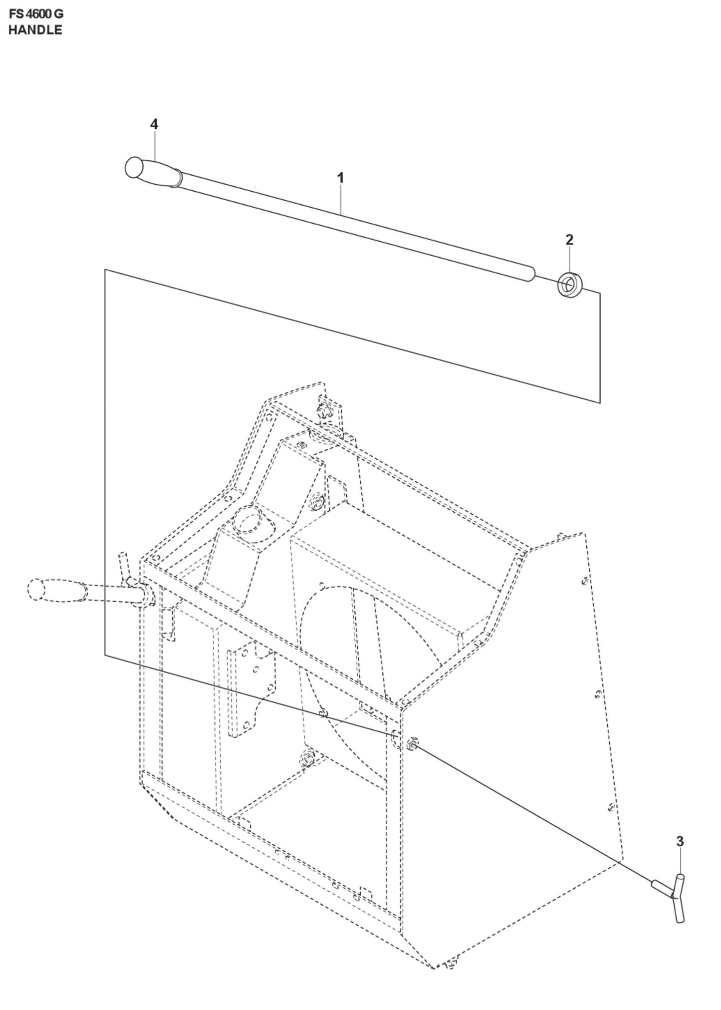
1
521973536 HANDLEBAR, 42" X 1", Z/P FOR FS4400 FS4600 SAW BY HUSQVARNA
$192.28
2
539300123 Bushing for Husqvarna FS3500 G Walk Behind Concrete Saw
$8.34
3
521885101 LOCK, HANDLEBAR, BLACK FOR FS4400 FS4600 SAW BY HUSQVARNA
$34.20
4
542139568 GRIP for FS309 Walk Behind Floor Saw Husqvarna Products
$10.14
