1
         / 
        of
        1
      
      
    
        Ref.
        Details
        
        
        
      
      
      
      
        
          
            
            
            
            
            
            
            
            
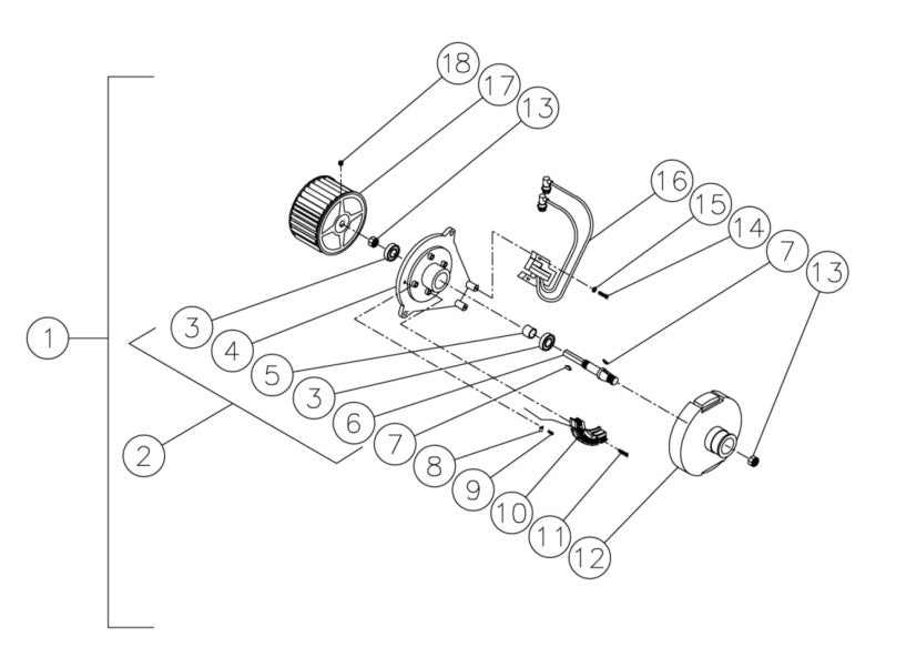
                1
              
              
                850-0228 Emf Assembly for AC1-PE15-08M Air Compressor by Mi-T-M 8500228
              
              
                $728.13
              
              
                2
              
              
                850-0229 Flange Assembly for AC1-PE15-08M Air Compressor by Mi-T-M 8500229
              
              
                $130.78
              
              
                3
              
              
                48-0041 Bearing- Sealed 5/8Idx1-3/8Od for AC1-PE15-08M Air Compressor by Mi-T-M 480041
              
              
                $29.34
              
              
                4
              
              
                38-0040 Flange-Blower, Die Cast Alum. for AC1-PE15-08M Air Compressor by Mi-T-M 380040
              
              
                Call for Price
              
              
                5
              
              
                33-0206 Spacer for AC1-PE15-08M Air Compressor by Mi-T-M 330206
              
              
                $6.28
              
              
                6
              
              
                20-0441 Blower Shaft BY MITM
              
              
                $34.43
              
              
                7
              
              
                43-0080 Key #405 Woodruff (1/8X5/8") for AC1-PE15-08M Air Compressor by Mi-T-M 430080
              
              
                Call for Price
              
              
                8
              
              
                32-0403 Cable Clamp for AC1-PE15-08M Air Compressor by Mi-T-M 320403
              
              
                $1.99
              
              
                9
              
              
                27-2070 Screw BY MITM
              
              
                $0.68
              
              
                11
              
              
                27-0740 Screw BY MITM
              
              
                $0.68
              
              
                12
              
              
                38-0041 Flange-Magnet Hub 6.75 O.D. for AC1-PE15-08M Air Compressor by Mi-T-M 380041
              
              
                $279.75
              
              
                13
              
              
                30-0177 Hex Nut BY MITM
              
              
                $0.68
              
              
                14
              
              
                27-8898 Bolt for MiTM Air Compressors by MiTM 278898
              
              
                $4.43
              
              
                15
              
              
                28-0002 Washer for MiTM Pressure Washers 280002
              
              
                $5.93
              
              
                16
              
              
                850-0191 Ignition Assembly for AC1-PE15-08M Air Compressor by Mi-T-M 8500191
              
              
                $140.27
              
              
                17
              
              
                44-0105 Fan Blower Wheel for AC1-PE15-08M Air Compressor by Mi-T-M 440105
              
              
                $99.72
              
              
                18
              
              
                30-3021 SCREW BY MITM
              
              
                $1.35
              
              
    