1
/
of
1
Ref.
Details
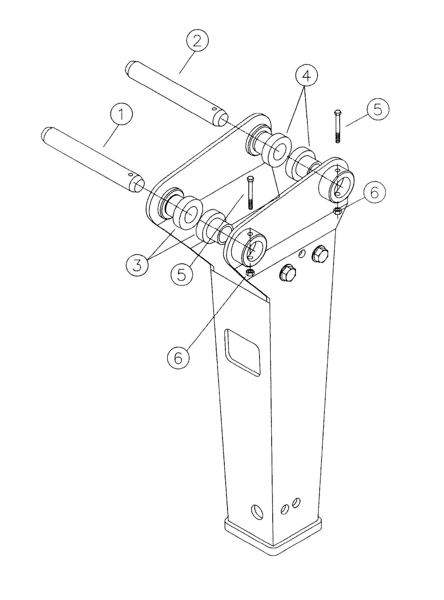
5
K06422 1/2"-13 X 5 Gr 5 Hhcs for Fx35a Hydraulic Breaker by FRD Kent
$12.32
6
K07228 Locknut 1/2" for F6 and F9 Breaker by FRD Kent
$2.99
