1
/
of
1
100% genuine product
Authorised dealer
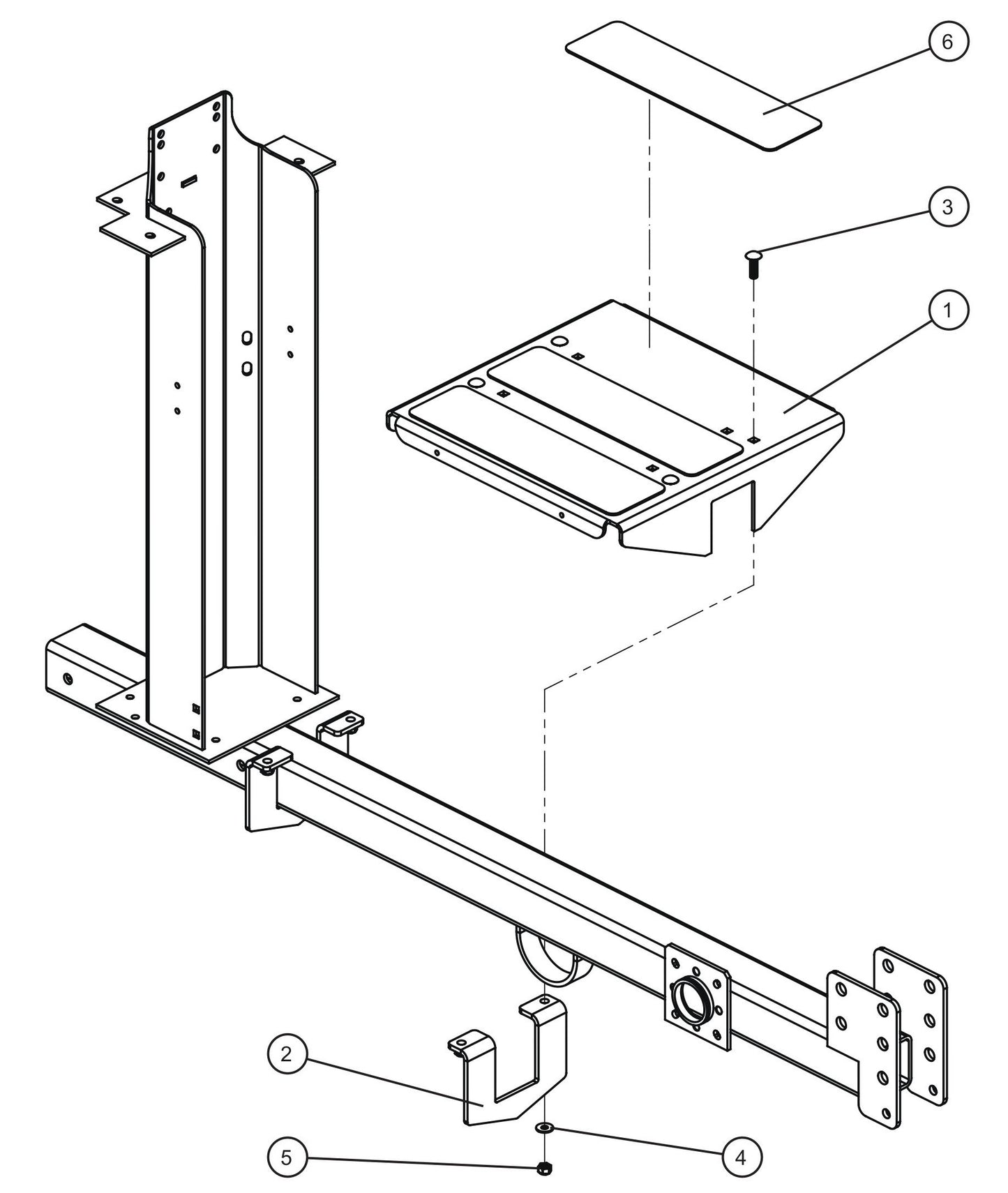
| Ref. | Product details | Price | Qty | Action |
|---|---|---|---|---|
| 1 |
105330P Step Platform for Night-Lite Pro Il LD-Series Light Towers by Allmand
|
$311.90 |
|
|
| 2 |
104406P Anchor Step for Night-Lite Pro Il LD-Series Light Towers by Allmand
|
$141.69 |
|
|
| 3 |
100670 3/8-16 X 1 1/4 Carriage Bolt for Night-Lite Pro Il LD-Series Light Towers by Allmand
|
$13.80 |
|
|
| 4 |
047010 5/16 Flat Washer for Night-Lite Pro Il LD-Series Light Towers by Allmand
|
$2.99 |
|
|
| 5 |
044038 3/8-16 Nylock Hex Nut for Night-Lite Pro Il LD-Series Light Towers by Allmand
|
$2.99 |
|
|
| 6 |
062006 Anti Skid Tape Die Cut for Night-Lite Pro Il LD-Series Light Towers by Allmand
|
$7.28 |
|
