1
/
of
1
100% genuine product
Authorised dealer
| Ref. | Product details | Price | Qty | Action |
|---|---|---|---|---|
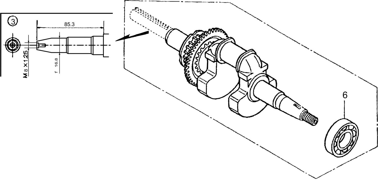
| 3 |
13310Z0DV70 Crank Shaft Complete for Multiquip Mikasa MTX50HD Jumping Jack Rammer
|
$301.19 |
|
|
| 6 |
91001Z0DV01 Bearing, Radial Ball for Multiquip Mikasa MTR40HF Jumping Jack Rammer
|
$26.84 |
|
- Due to uncertain tariff environment, certain dropship products may be subject to price changes post ordering.
