1
         / 
        of
        1
      
      
    
        Ref.
        Details
        
        
        
      
      
      
      
      
        
        
          
            
            
              
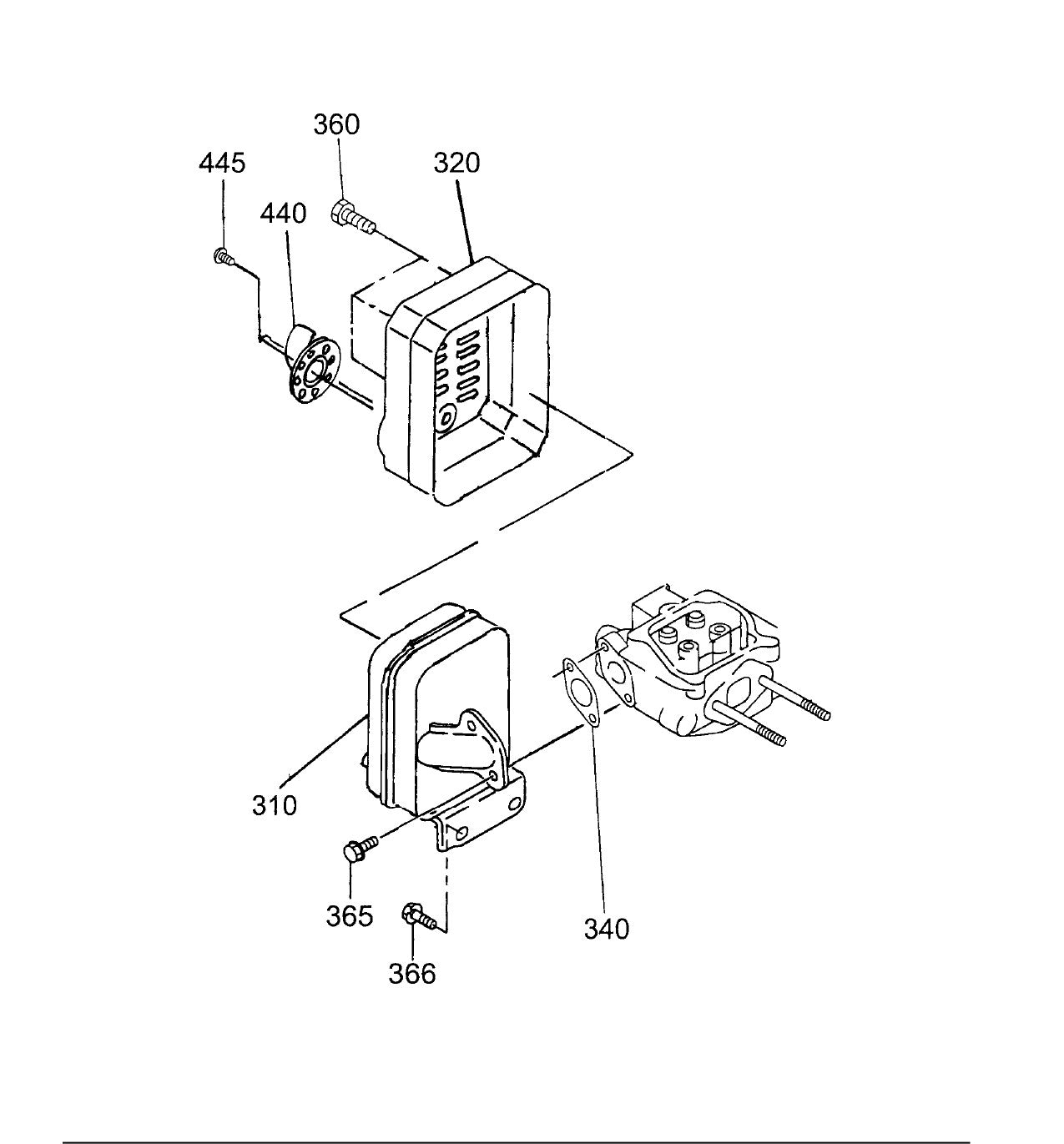
                  340
                
                
                  2843520103 Gasket  (Exhaust) for Multiquip Mikasa MT55F Jumping Jack Rammer
                
                
                  $7.64
                
                
                  360
                
                
                  0152060090 Tapping Bolt  for QP-2TE QP2TE Trash Pump by Multiquip
                
                
                  $3.25
                
                
                  365
                
                
                  0011306160 Bolt And Washer Assy for Multiquip Mikasa MT84FA Jumping Jack Rammer
                
                
                  $3.29
                
                
                  366
                
                
                  0011408160 Bolt & Washer 8 X 16 for Multiquip Mikasa MT84FA Jumping Jack Rammer
                
                
                  $2.19
                
                
                  440
                
                
                  2363700101 Deflector, Exh for JA Series Walk Behind Trowels by Multiquip Whiteman
                
                
                  $77.94
                
                
    