1
         / 
        of
        1
      
      
    
        Ref.
        Details
        
        
        
      
      
      
      
        
          
            
            
            
            
            
            
              
            
            
            
            
            
            
              
            
            
            
            
            
            
              
            
            
            
            
            
            
              
            
            
            
            
            
            
              
            
            
            
            
            
            
              
            
            
            
            
            
            
              
            
            
            
            
            
            
              
            
            
            
            
            
            
              
            
            
            
            
            
            
              
            
            
            
            
            
            
              
            
            
            
            
            
            
              
            
            
            
            
            
            
              
            
            
            
            
            
            
              
            
            
            
            
            
            
              
            
            
            
            
            
            
              
            
            
            
            
            
            
              
            
            
            
            
            
            
              
            
            
            
            
            
            
              
            
            
            
            
            
            
              
            
            
            
            
            
            
              
            
            
            
            
            
            
              
            
            
            
            
            
            
              
            
            
            
            
            
            
              
            
            
            
            
            
            
              
            
            
            
            
            
            
              
            
            
            
            
            
            
              
            
            
            
            
            
            
              
            
            
            
            
            
            
              
            
            
            
            
            
            
              
            
            
            
            
            
            
              
            
            
            
            
            
            
              
            
            
            
            
            
            
              
            
            
            
            
            
            
              
            
            
            
            
            
            
              
        
      
      
        
        
          
            
            
              
                  1
                
                
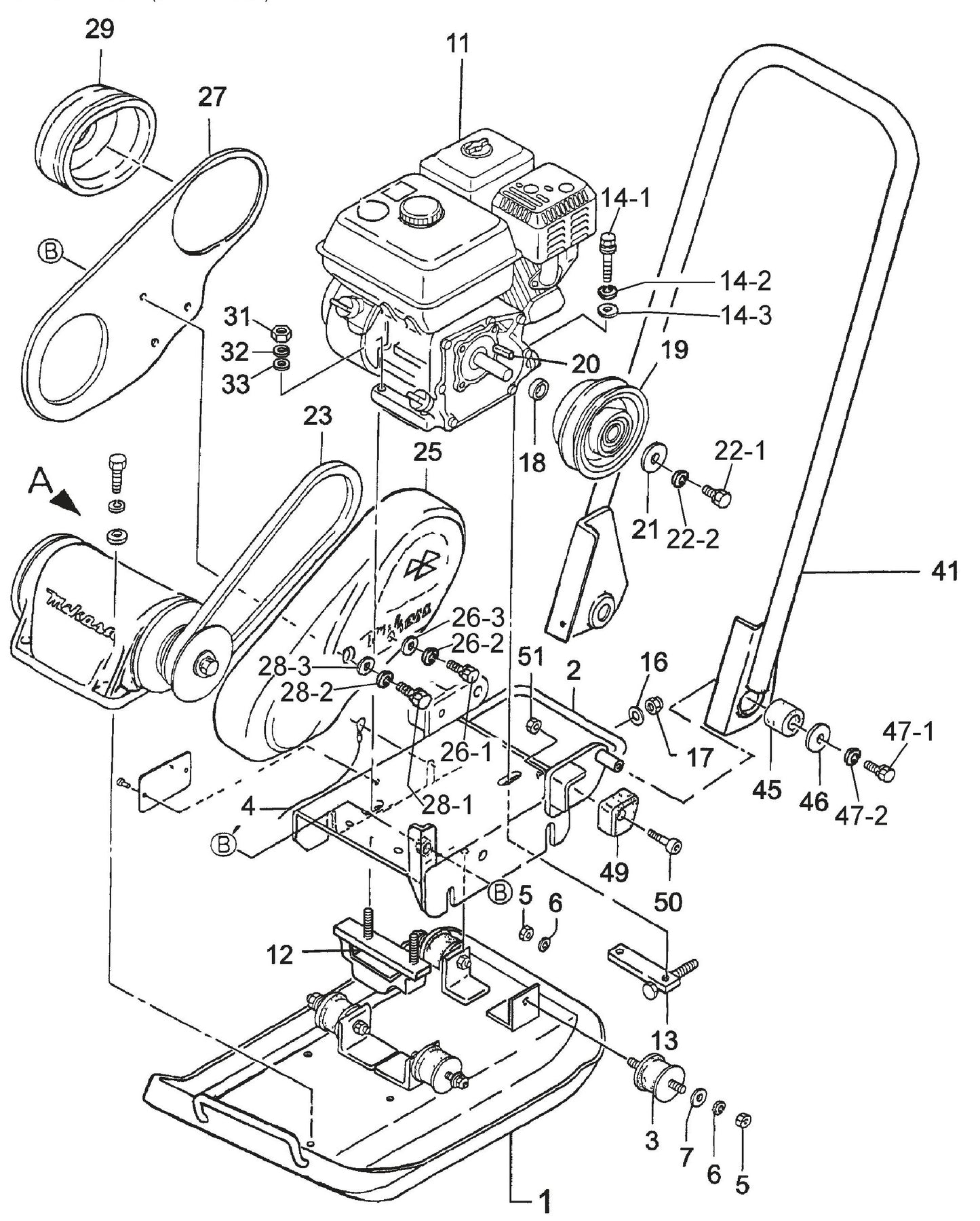
                  418117721 Vibratory Plate for Multiquip Mikasa MVC70H MVC70HW Plate Tamper / Compactor
                
                
                  $1,309.91
                
                
                  2
                
                
                  418216501 Base for Multiquip Mikasa MVC70H MVC70HW Plate Tamper / Compactor
                
                
                  $543.20
                
                
                  3
                
                
                  939010254 Shock Absorber D45-H41 for Multiquip Mikasa MVC70H MVC70HW Plate Tamper / Compactor
                
                
                  $40.63
                
                
                  4
                
                
                  959404350 Earth Wire for Multiquip Mikasa MVB150H Plate Tamper / Compactor
                
                
                  $10.06
                
                
                  5
                
                
                  020310080 Nut for Multiquip Mikasa MVH308DZ Plate Tamper Compactor
                
                
                  $7.69
                
                
                  6
                
                
                  030210250 Lock Washer for MTX60HD Rammer by Multiquip Mikasa
                
                
                  $2.31
                
                
                  26-2
                
                
                  030210250 Lock Washer for MTX60HD Rammer by Multiquip Mikasa
                
                
                  $2.31
                
                
                  7
                
                
                  031110160 Flat Washer, M10 for Multiquip Mikasa MRH800DS2 Walk Behind Tandem Roller
                
                
                  $2.19
                
                
                  26-3
                
                
                  031110160 Flat Washer, M10 for Multiquip Mikasa MRH800DS2 Walk Behind Tandem Roller
                
                
                  $2.19
                
                
                  28-3
                
                
                  031110160 Flat Washer, M10 for Multiquip Mikasa MRH800DS2 Walk Behind Tandem Roller
                
                
                  $2.19
                
                
                  11
                
                
                  912216006 Engine, Honda Gx160K1Qmx2 for Multiquip Mikasa MVC70H MVC70HW Plate Tamper / Compactor
                
                
                  $624.76
                
                
                  12
                
                
                  418457750 Bolt, Engine for Multiquip Mikasa MVC70H MVC70HW Plate Tamper / Compactor
                
                
                  $59.86
                
                
                  13
                
                
                  413436870 Engine Nut, Rear for Multiquip Mikasa MVC70H MVC70HW Plate Tamper / Compactor
                
                
                  $30.82
                
                
                  14-1
                
                
                  002410840 Bolt 8X40 H, Sw, Pw for Multiquip Mikasa MVC70H MVC70HW Plate Tamper / Compactor
                
                
                  $3.25
                
                
                  14-2
                
                
                  030208200 Lock Washer M8 for Multiquip Mikasa MT62HS Jumping Jack Rammer
                
                
                  $8.66
                
                
                  22-2
                
                
                  030208200 Lock Washer M8 for Multiquip Mikasa MT62HS Jumping Jack Rammer
                
                
                  $8.66
                
                
                  32
                
                
                  030208200 Lock Washer M8 for Multiquip Mikasa MT62HS Jumping Jack Rammer
                
                
                  $8.66
                
                
                  14-3
                
                
                  031108160 Plain Washer M8 for Multiquip Mikasa MVC77 Plate Tamper Compactor
                
                
                  $2.19
                
                
                  16
                
                
                  031108160 Plain Washer M8 for Multiquip Mikasa MVC77 Plate Tamper Compactor
                
                
                  $2.19
                
                
                  17
                
                
                  022710809 Nut, Nylon M8 for Multiquip Mikasa MT74FAF Jumping Jack Rammer
                
                
                  $1.66
                
                
                  18
                
                
                  408421270 Spacer 20.2X25X9.4, Clutch for Multiquip Mikasa MVC70H MVC70HW Plate Tamper / Compactor
                
                
                  $27.62
                
                
                  19
                
                
                  413332920 Clutch Assmbly for Multiquip Mikasa MVC70H MVC70HW Plate Tamper Compactor
                
                
                  $263.43
                
                
                  20
                
                
                  0053005201 Key for Multiquip Mikasa MVC70H MVC70HW Plate Tamper / Compactor
                
                
                  Call for Price
                
                
                  21
                
                
                  952400130 Washer 9304  for Multiquip Mikasa MT54F Jumping Jack Rammer
                
                
                  $15.50
                
                
                  22-1
                
                
                  001220820 Bolt 8 X 20 T for Multiquip Mikasa MVC80VH Plate Tamper Compactor
                
                
                  $2.19
                
                
                  23
                
                
                  070100312 V-Belt Rpf-3310 for Multiquip Mikasa MVC70H MVC70HW Plate Tamper / Compactor
                
                
                  $46.20
                
                
                  25
                
                
                  418216470 Belt Cover for Multiquip Mikasa MVC64VH MVC64VHW Plate Tamper Compactor
                
                
                  $165.09
                
                
                  26-1
                
                
                  001221035 Bolt 10X35 H, Sw, Pw for Multiquip Mikasa MVC70H MVC70HW Plate Tamper / Compactor
                
                
                  $3.25
                
                
                  27
                
                
                  418216480 Belt Cover, In. for Multiquip Mikasa MVC70H MVC70HW Plate Tamper / Compactor
                
                
                  $165.09
                
                
                  28-1
                
                
                  001221053 Bolt 10X65 Sw, Pw for Multiquip Mikasa MVC70H MVC70HW Plate Tamper / Compactor
                
                
                  $3.58
                
                
                  28-2
                
                
                  030210250 Lock Washer, M10 for Multiquip Mikasa MRH800DS2 Walk Behind Tandem Roller
                
                
                  $2.19
                
                
                  47-2
                
                
                  030210250 Lock Washer, M10 for Multiquip Mikasa MRH800DS2 Walk Behind Tandem Roller
                
                
                  $2.19
                
                
                  29
                
                
                  418343420 Cover Seal (E/G) for Multiquip Mikasa MVC82VH Plate Tamper Compactor
                
                
                  $22.46
                
                
                  31
                
                
                  020308060 Nut for Multiquip Mikasa MDR9D Walk Behind Tandem Roller
                
                
                  $2.19
                
                
                  33
                
                
                  031108160 Pw M8  for Multiquip Mikasa MT55F Jumping Jack Rammer
                
                
                  $2.19
                
                
                  41
                
                
                  413216250 Handle Long for Multiquip Mikasa MVC70H MVC70HW Plate Tamper / Compactor
                
                
                  $227.04
                
                
                  45
                
                
                  404433430 Rubber 20X32X28.5/52H for Multiquip Mikasa MVC70H MVC70HW Plate Tamper / Compactor
                
                
                  $37.09
                
                
                  46
                
                
                  952403450 Washer 11X35X4.5 for Multiquip Mikasa MVC70H MVC70HW Plate Tamper / Compactor
                
                
                  $6.89
                
                
                  47-1
                
                
                  001221020 Bolt 10X20 H,Sw for Multiquip Mikasa MVC70H MVC70HW Plate Tamper / Compactor
                
                
                  $2.19
                
                
                  49
                
                
                  413436720 Rubber, Handle for Multiquip Mikasa MVC70H MVC70HW Plate Tamper / Compactor
                
                
                  $11.70
                
                
                  50
                
                
                  001520845 Socket Head Bolt 8X45 T for Multiquip Mikasa MVC70H MVC70HW Plate Tamper / Compactor
                
                
                  $3.25
                
                
    