1
/
of
1
100% genuine product
Authorised dealer
| Ref. | Product details | Price | Qty | Action |
|---|---|---|---|---|
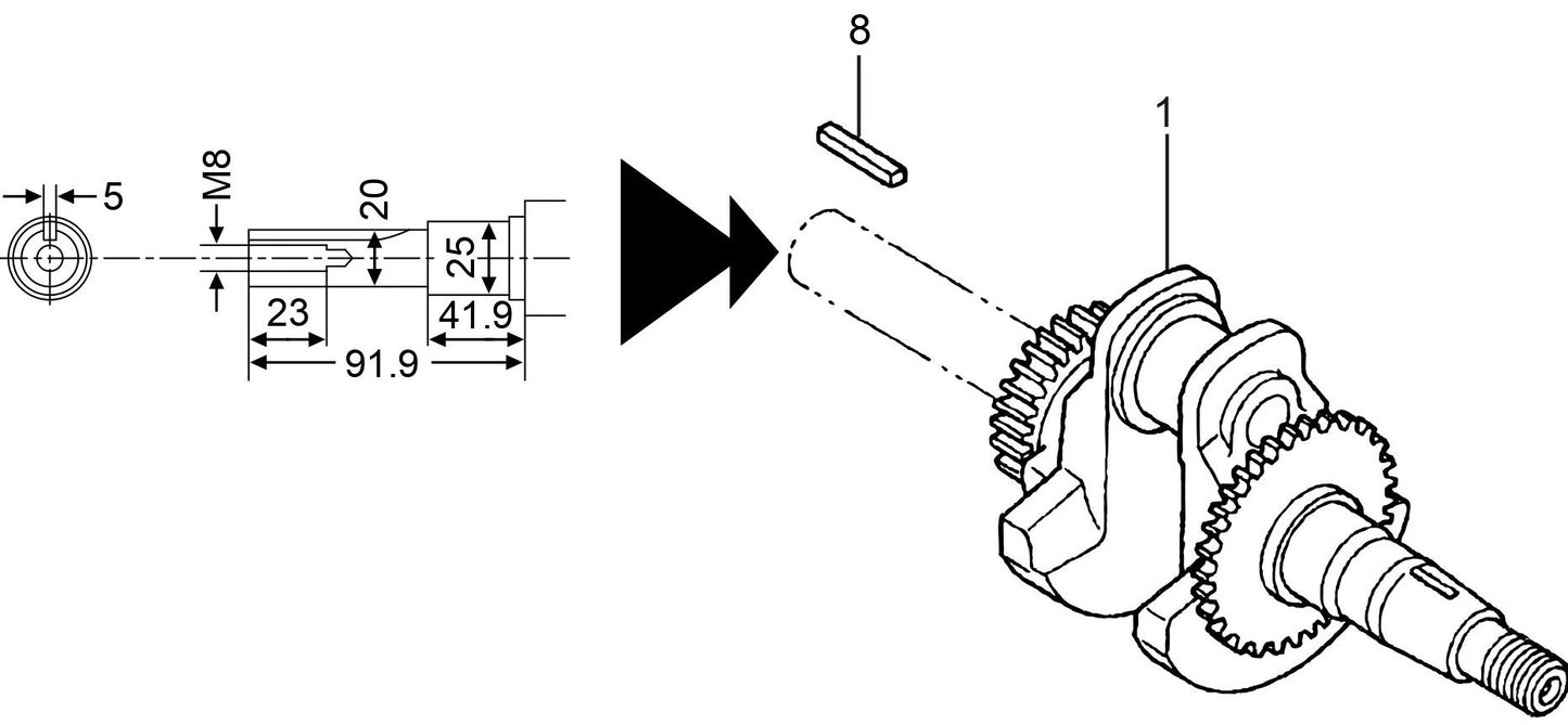
| 1 |
13310ZL0020 Crankshaft Complete for MVH158GH Reversible Plate Compactor by Multiquip Mikasa
|
Call for Price | call for price call for price | |
| 8 |
90741883810 Key 5X5X33 for Multiquip Mikasa MVB150H Plate Tamper / Compactor
|
$27.29 |
|
