1
         / 
        of
        1
      
      
    
        Ref.
        Details
        
        
        
      
      
      
      
      
        
        
          
            
            
              
                  1
                
                
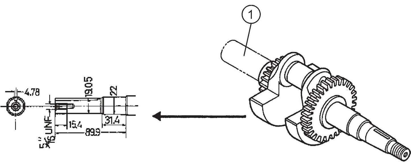
                  13310ZE0601  Crankshaft  for Multiquip Mikasa MVHR60HW  Plate Tamper Compactor
                
                
                  $299.95
                
                
    