1
         / 
        of
        1
      
      
    
        Ref.
        Details
        
        
        
      
      
        
          
        
      
      
      
        
          
            
            
            
            
            
            
              
            
            
            
            
            
            
              
            
            
            
            
            
            
              
            
            
            
            
            
            
              
            
            
            
            
            
            
              
            
            
            
            
            
            
              
            
            
            
            
            
            
              
            
            
            
            
            
            
              
            
            
            
            
            
            
              
            
            
            
            
            
            
              
            
            
            
            
            
            
              
            
            
            
            
            
            
              
            
            
            
            
            
            
              
            
            
            
            
            
            
              
        
      
      
        
        
          
            
            
              
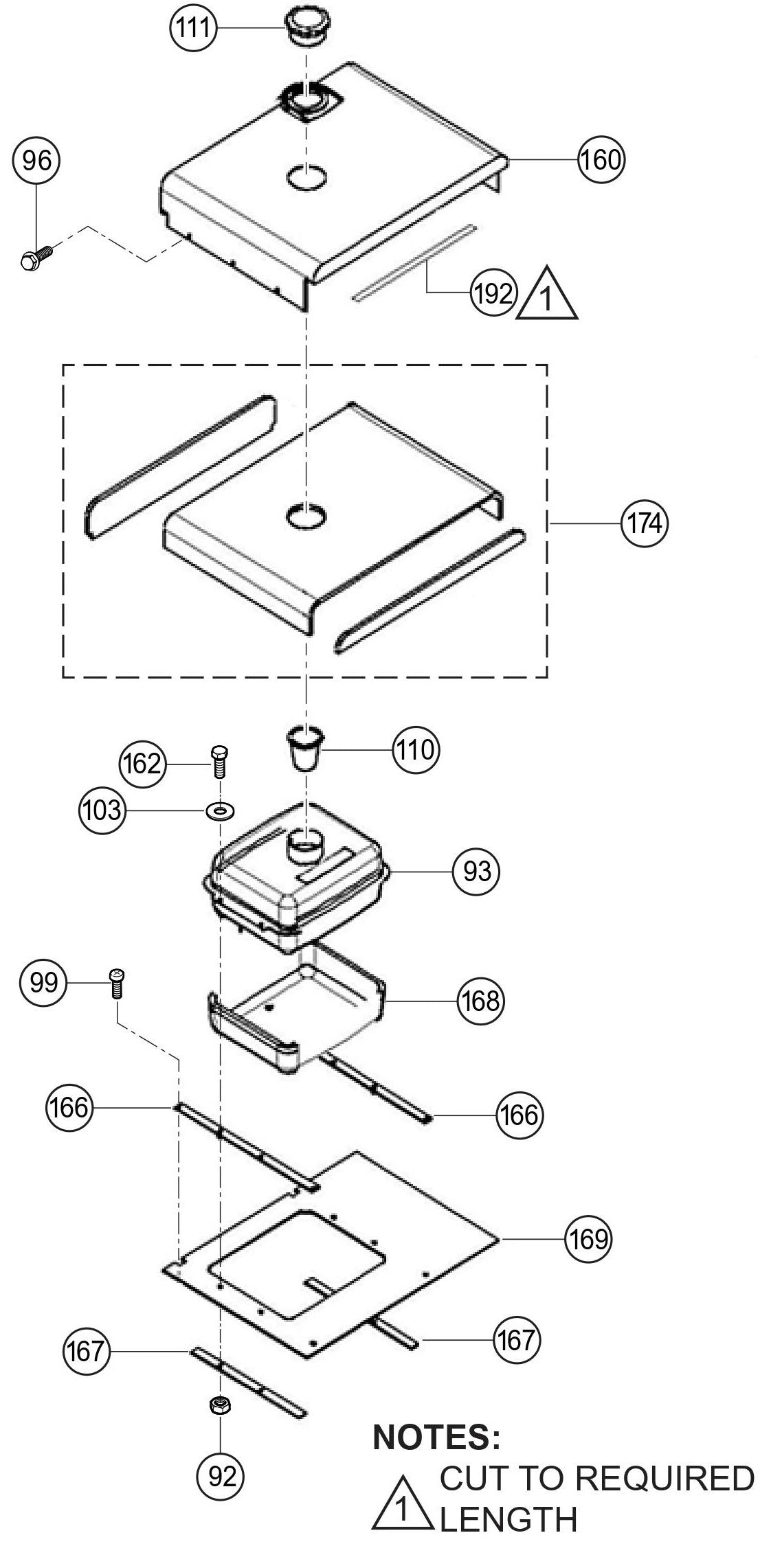
                  92
                
                
                  0209150080 Flange Nut (Engi Ne) M8 for T-30H T30H Trash Pump by Multiquip
                
                
                  $2.19
                
                
                  96
                
                
                  0105060616 Hex Hd Screw W/Captive Washer for QP3TS Trash Pump by Multiquip
                
                
                  Call for Price
                
                
                  103
                
                
                  0401450080 WASHER FLAT M8 for MTX60HD Rammer by Multiquip Mikasa
                
                
                  $2.31
                
                
                  166
                
                
                  8910200960C014 Bracket, Fuel Tank for QP3TS Trash Pump by Multiquip
                
                
                  Call for Price
                
                
                  167
                
                
                  8910200970C014 Bracket, Glass Wool for QP3TS Trash Pump by Multiquip
                
                
                  Call for Price
                
                
                  168
                
                
                  8910718880 Glass Wool, Bottom Fuel Tank for QP3TS Trash Pump by Multiquip
                
                
                  Call for Price
                
                
                  169
                
                
                  8910718890 Glass Wool, Fuel Tank for QP3TS Trash Pump by Multiquip
                
                
                  Call for Price
                
                
                  174
                
                
                  8910718870 Glass Wool, Cover Top for QP3TS Trash Pump by Multiquip
                
                
                  Call for Price
                
                
                  192
                
                
                  8910343780 Sealing Sheet Lg 4.9 Ft (1,495 Mm) for QP3TS Trash Pump by Multiquip
                
                
                  Call for Price
                
                
    