1
/
of
1
Ref.
Details
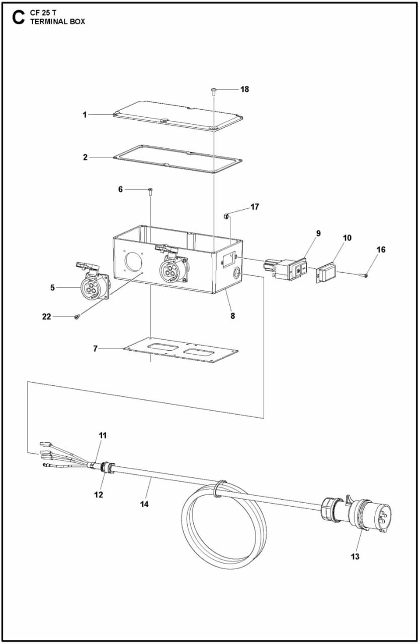
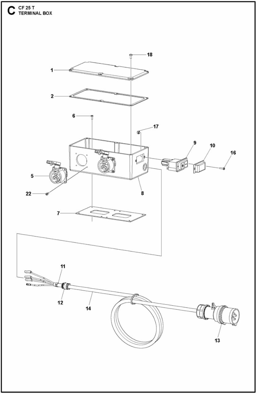
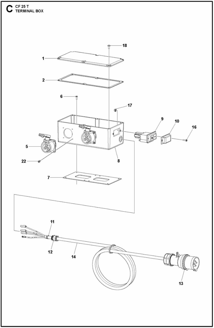
17
595069201 LOCK NUT FOR COMPACTION EQUIPMENT BY HUSQVARNA
$2.99
