1
/
of
1
100% genuine product
Authorised dealer
| Ref. | Product details | Price | Qty | Action |
|---|---|---|---|---|
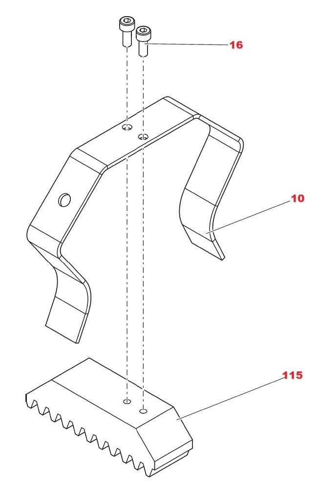
| 10 |
Diamond Products STOP CLAMP WSE1217 3403662
|
$68.00 |
|
|
| 16 |
Diamond Products SOCKET SCREW M4X10 3401361
|
$4.99 |
|
|
| 115 |
Diamond Products ARRESTER RAIL STOPPER 3403698
|
$128.70 |
|
